Curiosii for ever!
: Car repair manuals for everyone.
Home
>>
Lexus
>>
2000
>>
GS 400 V8-4.0L (1UZ-FE)
>>
Repair and Diagnosis
>>
Body and Frame
>>
Mirrors
>>
Memory Positioning Systems
>>
Testing and Inspection
>>
Power Seat Control System
>>
Component Tests and General Diagnostics
>>
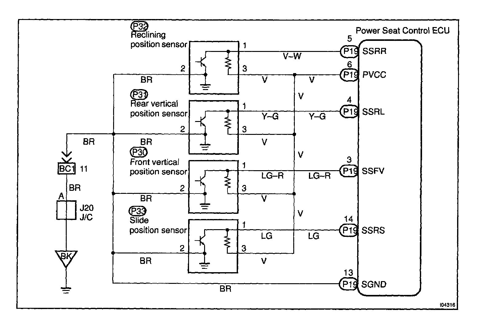
Position Sensor Circuit
Position Sensor Circuit
Wiring Diagram:
Step 1:
Steps 2 - 3:
INSPECTION PROCEDURE
HINT:
If there is not the LEXUS hand-held tester, begin with STEP 2.