Curiosii for ever!
: Car repair manuals for everyone.
Home
>>
Lexus
>>
2000
>>
GS 300 L6-3.0L (2JZ-GE)
>>
Repair and Diagnosis
>>
Relays and Modules
>>
Relays and Modules - Powertrain Management
>>
Relays and Modules - Computers and Control Systems
>>
Body Control Module
>>
Testing and Inspection
>>
Component Tests and General Diagnostics
>>
Pattern Select Switch Circuit
Pattern Select Switch Circuit
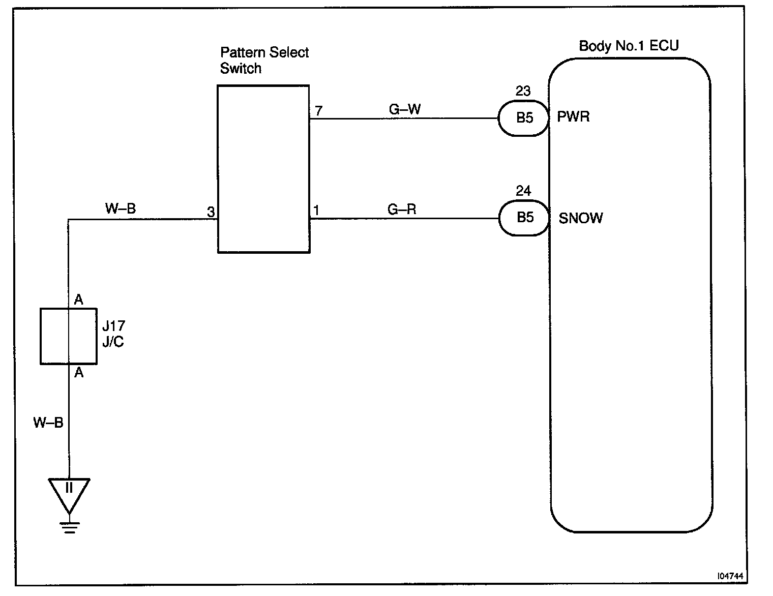
Pattern Select Switch Circuit / Body No.1 ECU
CIRCUIT DESCRIPTION
Body No.1 ECU detect the state of pattern select switch.
Wiring Diagram:
Steps 1 - 3:
INSPECTION PROCEDURE