Curiosii for ever!
: Car repair manuals for everyone.
Home
>>
Lexus
>>
2000
>>
GS 300 L6-3.0L (2JZ-GE)
>>
Repair and Diagnosis
>>
Relays and Modules
>>
Relays and Modules - Brakes and Traction Control
>>
Electronic Brake Control Module
>>
Testing and Inspection
>>
Tc Terminal Circuit
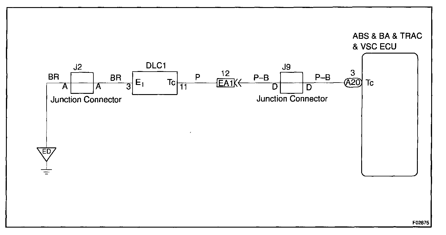
Tc Terminal Circuit
CIRCUIT DESCRIPTION
Connecting terminals Tc and E1 of the DLC1 causes the ECU to display the DTC by flashing the ABS warning light.
WIRING DIAGRAM
Step 1:
Step 2:
INSPECTION PROCEDURE