Curiosii for ever!
: Car repair manuals for everyone.
Home
>>
Lexus
>>
1999
>>
SC 400 V8-4.0L (1UZ-FE)
>>
Repair and Diagnosis
>>
Steering and Suspension
>>
Steering
>>
Steering Column
>>
Steering Column Control Module
>>
Testing and Inspection
>>
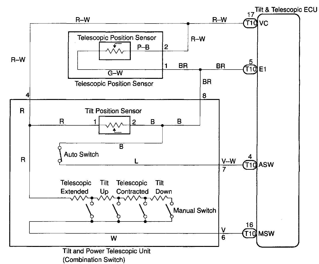
Sensor Power Source Circuit
Sensor Power Source Circuit
CIRCUIT DESCRIPTION
Power to the position sensors, manual switch and auto set switch is output from the ECU.
WIRING DIAGRAM
Step 1:
Step 2:
Step 3:
INSPECTION PROCEDURE