Back-Up Power Source Circuit
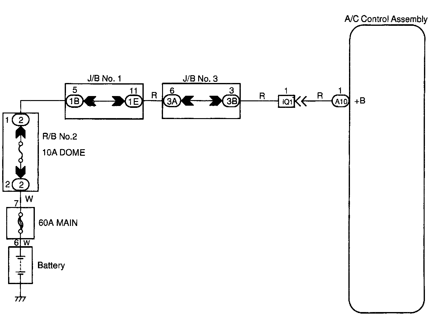
CIRCUIT DESCRIPTIONThis is the back-up power source for the A/C control assembly. Power is supplied even when the ignition switch is off and is used for DTC memory, etc.
WIRING DIAGRAM
Step 1:
Step 2:
INSPECTION PROCEDURE