Curiosii for ever!: Car repair manuals for everyone.

Power Mirror Position Switch/Sensor: Testing and Inspection

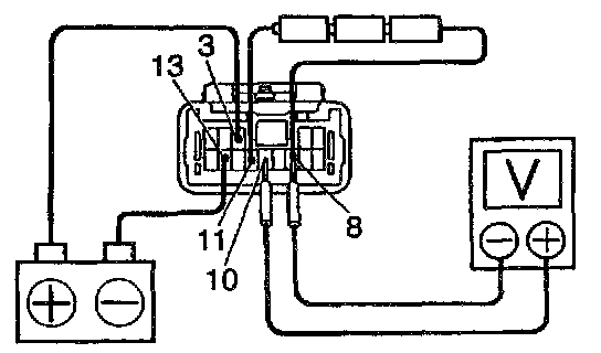
INSPECT MIRROR POSITION SENSORS

HINT: Strip off the vinyl tape of the connector and remove terminals 3, 8, 10, 11 and 13 from the connector housing.




a. Connect a series of three 1.5 V dry cell batteries.
b. Connect the positive (+) lead from the dry cell batteries to terminal 11 and the negative (-) lead to terminal 8.
c. Connect the positive (+) lead from the voltmeter to terminal 10 and the negative (-) lead to terminal 8.







d. Apply battery positive voltage to terminals 3 and 13, then check that the voltage gradually changes according to the table while the mirror moves between the uppermost position and lowermost position.
If voltage value is not as specified, replace the motor assembly.




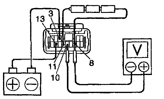
e. Disconnect the 2 leads of the battery and voltmeter.
f. Connect the positive (+) lead from the voltmeter to terminal 9 and negative (-) lead to terminal 8.







g. Apply battery positive voltage to terminals 12 and 13, then inspect that the voltage gradually changes according to the table while the mirror moves between the left most position and right most position.
If voltage value is not as specified, replace the motor assembly.