Curiosii for ever!: Car repair manuals for everyone.

Vehicle Speed Sensor: Testing and Inspection




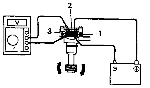
INSPECT NO.1 VEHICLE SPEED SENSOR OPERATION
a. Connect the positive (+) lead from battery to terminal 1 and negative (-) lead to terminal 2.
b. Connect the positive (+) lead from tester to terminal 3 and negative (-) lead to terminal 2.
c. Revolve shaft.
d. Check that there is voltage change from approx. 0 V to 11 V or more between terminal 2 and 3.

HINT: The voltage change should be 4 times for every revolution of the vehicle speed sensor shaft.

If operation is not as specified, replace the sensor.







INSPECT NO.1 VEHICLE SPEED SENSOR CIRCUIT
Disconnect the connector from the sensor and inspect the connector on the wire harness side.
If circuit is not as specified, inspect power source or wire harness.