Curiosii for ever!
: Car repair manuals for everyone.
Home
>>
Lexus
>>
1999
>>
SC 300 L6-3.0L (2JZ-GE)
>>
Repair and Diagnosis
>>
Heating and Air Conditioning
>>
Control Module HVAC
>>
Testing and Inspection
>>
IG Power Source Circuit
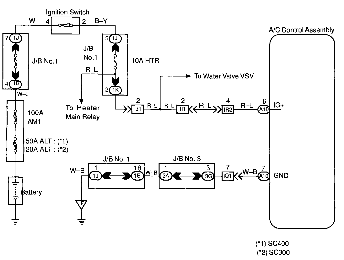
IG Power Source Circuit
CIRCUIT DESCRIPTION
This is the power source for the A/C control assembly (contains the A/C control assembly) and servomotor, etc.
WIRING DIAGRAM
Step 1:
Step 2:
Step 3:
INSPECTION PROCEDURE