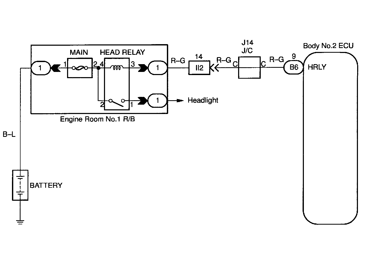
Headlight Relay Circuit
CIRCUIT DESCRIPTIONHead light relay will be "ON" by operating the head light switch. The transistor which activates the tail light relay has two sorts: one activates directly by the head light switch for fail safe and the other activates by CPU. the one that activates by CPU has two systems and prevents the head light from turning off at the time of one system trouble in the automatic operation circuit.
WIRING DIAGRAM
Step 1:
Step 2:
Step 3:
INSPECTION PROCEDURE
HINT: In case of using the LEXUS hand-held tester, start the inspection from step 1 and in case of not using the LEXUS hand-held tester, start from step 2.