Curiosii for ever!: Car repair manuals for everyone.

Component Inspection




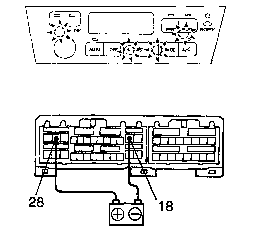
1. INSPECT NIGHT LIGHTING
a. Connect the positive (+) lead from the battery to terminal 28 and the negative (-) lead to terminal 18, then check that the illumination lights up.
- If there is bulb not light up, replace the bulb only.
- If all bulb does not light up, replace the A/C control panel.




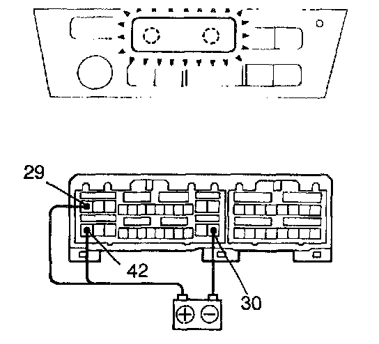
2. INSPECT LCD LIGHTING
Connect the positive (+) lead from the battery to terminal 29, 42 and the negative (-) lead to terminal 30, then check that the illumination lights up.
- If there is bulb not light up, replace the replace the bulb only.
- If the 2 bulbs do not light up, try replace the bulb with a new one If the bulbs do not light up, replace the A/C control panel.




3. INSPECT SWITCH OPERATION
a. Connect the positive (+) lead from the battery to terminal 29, 42 and the negative (-) lead to terminal 30.
b. Operate the switches and check that the indicator and LCD indication change, as shown in the illustration.
If operation is not as specified, replace the A/C control panel.




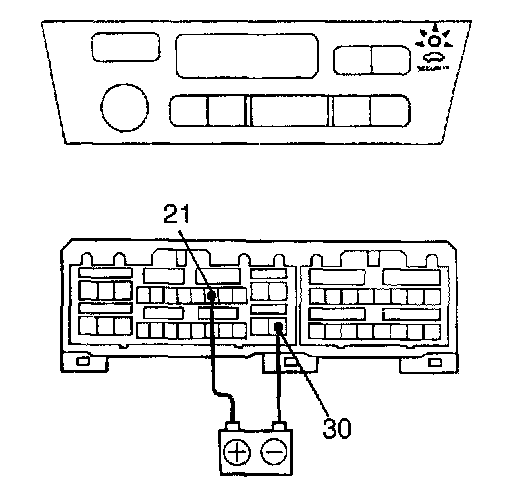
4. INSPECT SECURITY INDICATOR
Connect the positive (+) lead from the battery to terminal 21 and negative (-) lead to terminal 30, then check that the indicator light up.
If operation is not as specified, replace the A/C control panel.

5. INSPECT A/C CONTROL ASSEMBLY CIRCUIT