Curiosii for ever!
: Car repair manuals for everyone.
Home
>>
Lexus
>>
1998
>>
SC 400 V8-4.0L (1UZ-FE)
>>
Repair and Diagnosis
>>
Body and Frame
>>
Mirrors
>>
Memory Positioning Systems
>>
Testing and Inspection
>>
Power Tilt and Power Telescopic Steering Column
>>
Component Tests and General Diagnostics
>>
Ignition Switch Circuit
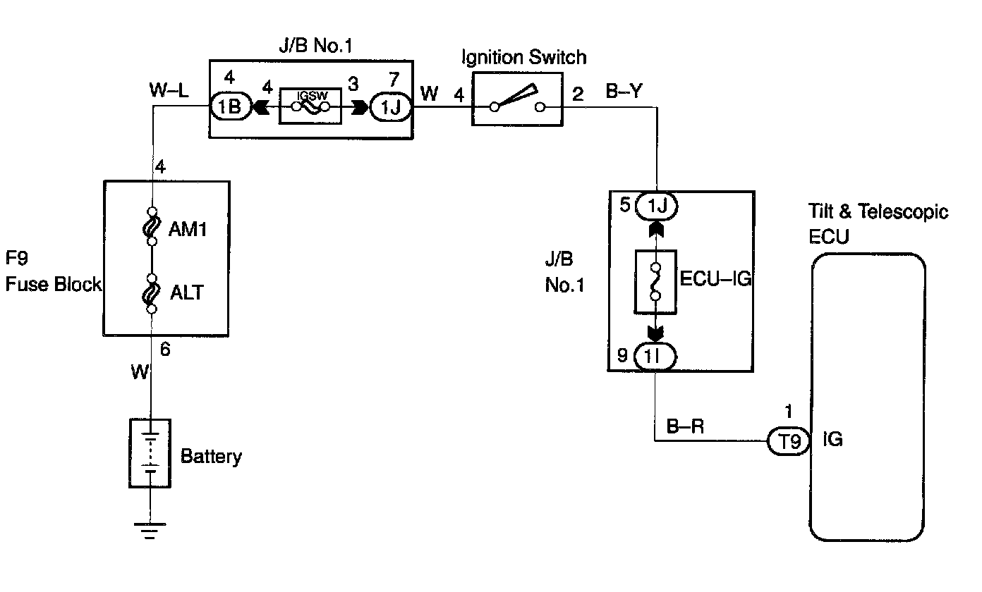
Ignition Switch Circuit
CIRCUIT DESCRIPTION
The
ON
,
OFF
signal from the IG switch is sent to the ECU.
WIRING DIAGRAM
Step 1:
Step 2:
INSPECTION PROCEDURE