Curiosii for ever!: Car repair manuals for everyone.

Power Window Switch (Master Switch)




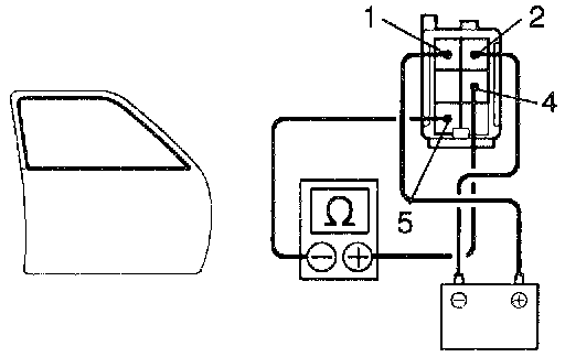
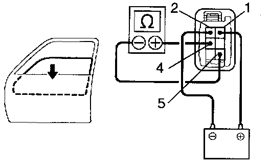
INSPECT POWER WINDOW MASTER SWITCH CONTINUITY




Front Driver's Switch




Front Passenger's Switch




Rear Left Switch




Rear Right Switch

If continuity is not as specified, replace the master switch.
If continuity is as specified, inspect the master switch circuit.

INSPECT POWER WINDOW MASTER SWITCH CIRCUIT

INSPECT POWER WINDOW MASTER SWITCH ILLUMINATION




a. Set the window lock switch to the unlock position.
b. Connect the positive (+) lead from the battery to terminal 10 and the negative (-) lead to terminal 11, and check that all the illuminations light up.




c. Set the window look switch to the lock position and check that all the passenger's power window switch illuminations go out.
If operation is not as specified, replace the master switch.

INSPECT POWER WINDOW SWITCH CONTINUITY
Front Passenger's Door:








If continuity is not as specified, replace the switch.
If continuity is as specified, inspect the switch circuit.

INSPECT POWER WINDOW SWITCH CIRCUIT

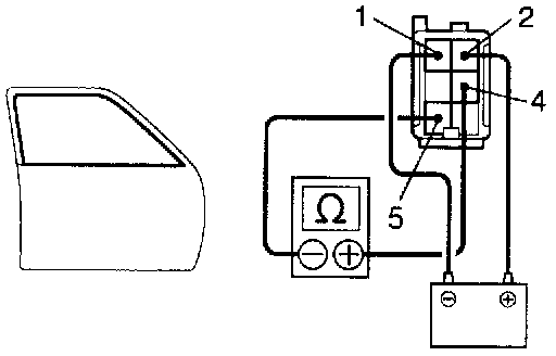
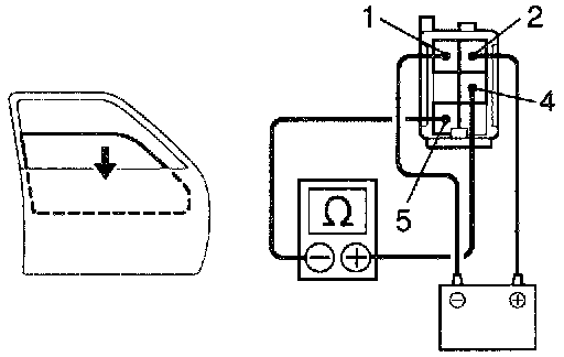
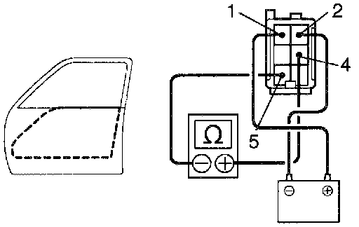
Driver's Door (Window Up):
INSPECT JAM PROTECTION LIMIT SWITCH





a. Connect the positive (+) lead from the ohmmeter to terminal 4 and the negative (-) lead to terminal 5.
b. Connect the positive (+) lead from the battery to terminal 2 and the negative (-) lead to terminal 1.
c. Check that the continuity exists when the window goes up.




d. Check that the no continuity exists when the window is in the fully closed position.
If operation is not as specified, replace the motor.

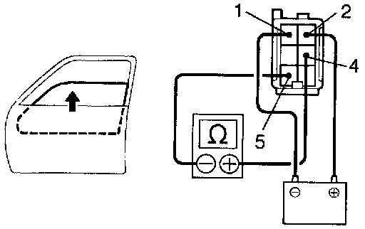
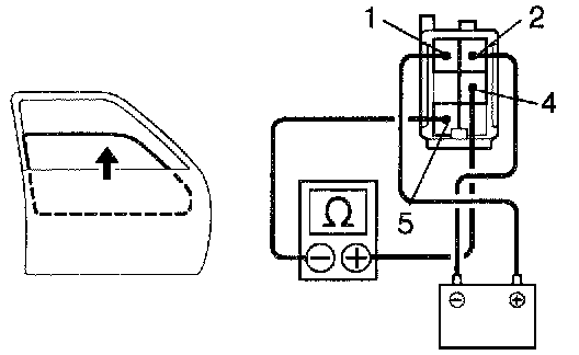
Driver's Door (Window Down):
INSPECT JAM PROTECTION LIMIT SWITCH





a. Connect the positive (+) lead from the ohmmeter to terminal the negative (-) lead to terminal 5.
b. Connect the positive (+) lead from the battery to terminal 1 and the negative (-) lead to terminal 2.
c. Check that the continuity exists when the window goes down.




d. Check that the no continuity exists when the window is in the fully opened position.
If operation is not as specified, replace the motor.

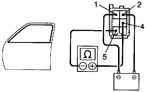
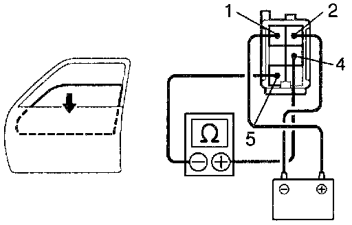
Front Passenger's Door (Window Up):
INSPECT JAM PROTECTION LIMIT SWITCH





a. Connect the positive (+) lead from the ohmmeter to terminal 4 and the negative (-) lead to terminal 5.
b. Connect the positive (+) lead from the battery to terminal 1 and the negative (-) lead to terminal 2.
c. Check that the continuity exists when the window goes up.




d. Check that the no continuity exists when the window is in the fully closed position.
If operation is not as specified, replace the motor.

Front Passenger's Door (Window Down):
INSPECT JAM PROTECTION LIMIT SWITCH





a. Connect the positive (+) lead from the ohmmeter to terminal 4 and the negative (-) lead to terminal 5.
b. Connect the positive (+) lead from the battery terminal and the negative (-) lead to terminal 1.
c. Check that the continuity exists when the window goes down.




d. Check that the no continuity exists when the window is in the fully opened position.
If operation is not as specified, replace the motor.

Rear LH Door (Window Up):
INSPECT JAM PROTECTION LIMIT SWITCH





a. Connect the positive (+) lead from the ohmmeter to terminal 4 and the negative (-) lead to terminal 5.
b. Connect the positive (+) lead from the battery to terminal 2 and the negative (-) lead to terminal 1.
c. Check that the continuity exists when the window goes up.




d. Check that the no continuity exists when the window is in the fully closed position.
If operation is not as specified replace the motor.

Rear LH Door (Window Down):
INSPECT JAM PROTECTION LIMIT SWITCH





a. Connect the positive (+) lead from the ohmmeter to terminal 4 and the negative (-) lead to terminal 5.
b. Connect the positive (+) lead from the battery to terminal 1 and the negative (-) lead to terminal 2.
c. Check that the continuity exists when the window goes down.




d. Check that the no continuity exists when the window is in the fully opened position.
If operation is not as specified, replace the motor.

Rear RH Door (Window Up)
INSPECT JAM PROTECTION LIMIT SWITCH





a. Connect the positive (+) lead from the ohmmeter to terminal 4 and the negative (-) lead to terminal 5.
b. Connect the positive (+) lead from the battery to terminal 1 and the negative (-) lead to terminal 2.
c. Check that the continuity exists when the window goes up.




d. Check that the no continuity exists when the window is in the fully closed position.
If operation is not as specified, replace the motor.

Rear RH Door (Window Down):
INSPECT JAM PROTECTION LIMIT SWITCH





a. Connect the positive (+) lead from the ohmmeter to terminal 4 and the negative (-) lead to terminal 5.
b. Connect the positive (+) lead from the battery to terminal 2 and the negative (-) lead to terminal 1.
c. Check that the continuity exists when the window goes down.




d. Check that the no continuity exists when the window is in the fully opened position.
If operation is not as specified, replace the motor.

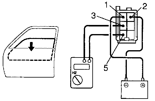
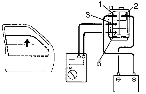
Driver's Door:
INSPECT JAM PROTECTION PULSE SWITCH





a. Connect the positive (+) lead from the TOYOTA electrical tester to terminal 3 and the negative (-) lead to terminal 5.
b. Connect the positive (+) lead from the battery to terminal 2 and the negative (-) lead to terminal 1.
c. Check that pulse is generated during the motor running.




d. Reverse the polarity and check that pulse is generated.
If operation is not as specified, replace the motor.

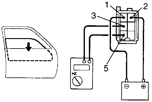
Front Passenger's Door:
INSPECT JAM PROTECTION PULSE SWITCH





a. Connect the positive (+) lead from the TOYOTA electrical tester to terminal 3 and the negative (-) lead to terminal 5.
b. Connect the positive (+) lead from the battery to terminal 1 and the negative (-) lead to terminal 2.
c. Check that pulse is generated during the motor running.




d. Reverse the polarity and check that pulse is generated. If operation is not as specified, replace the motor.

Rear LH Door:
INSPECT JAM PROTECTION PULSE SWITCH





a. Connect the positive (+) lead from the TOYOTA electrical tester to terminal 3 and the negative (-) lead to terminal 5.
b. Connect the positive (+) lead from the battery to terminal 2 and the negative (-) lead to terminal 1.
c. Check that pulse is generated during the motor running.




d. Reverse the polarity and check that pulse is generated. If operation is not as specified, replace the motor.

Rear RH Door:
INSPECT JAM PROTECTION PULSE SWITCH





a. Connect the positive (+) lead from the TOYOTA electric tester to terminal 3 and the negative (-) lead to terminal 5.
b. Connect the positive (+) lead from the battery to terminal 1 and the negative (-) lead to terminal 2.
c. Check that pulse is generated during the motor running.




d. Reverse the polarity and check that pulse is generated. If operation is not as specified, replace the motor.