Curiosii for ever!: Car repair manuals for everyone.

Main Relay (Computer/Fuel System): Testing and Inspection


INSPECTION

1. REMOVE RELAY BOX COVER





2. REMOVE EFI MAIN RELAY (Marking:EFI)
3. INSPECT EFI MAIN RELAY





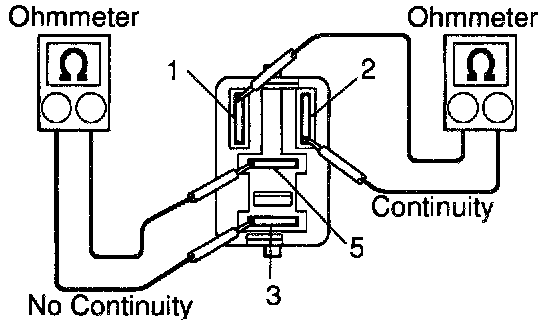
(a) Inspect the relay continuity.
(1) Using an ohmmeter, check that there is continuity between terminals 1 and 2.
If there is no continuity, replace the relay.
(2) Check that there is no continuity between terminals 3 and 5.
If there is continuity, replace the relay.





(b) Inspect the relay operation.
(1) Apply battery positive voltage across terminals 1 and 2.
(2) Using an ohmmeter, check that there is continuity between terminals 3 and 5.
If there is no continuity, replace the relay.
4. REINSTALL EFI MAIN RELAY
5. REINSTALL RELAY BOX COVER