Curiosii for ever!: Car repair manuals for everyone.

Keyless Entry Module: Service and Repair

WIRELESS DOOR LOCK CONTROL ECU AND TRANSMITTER REPLACEMENT

Note: Disassembly and assembly of the transmitter includes details of spare parts and replacement procedure for defective parts found through troubleshooting. Each part is a precision electronic component so handle with care.






1. SPARE PARTS AND REPLACEMENT PROCEDURE FOR MALFUNCTIONING PARTS:

For malfunctioning transmitter:

(a) Prepare a new battery.
(b) Registration of recognition code.
(c) Check that the door lock remote control operation works.







For malfunctioning battery:

(a) Prepare a new battery.
(b) Remove the battery from transmitter.
(c) Install a new battery into transmitter.
(d) Check that the door lock remote control operation works.







For malfunctioning ECU:

(a) Prepare a new ECU.
(b) Remove the battery from transmitter.
(c) Install a new ECU in the vehicle.
(d) Registration of recognition code.
(e) Check that the door lock remote control operation works.










2. REPLACE BATTERY FOR TRANSMITTER

(a) Using a screwdriver, twist (turn) the screwdriver to remove the cover.
(b) Remove the battery
(c) Set a new battery into the transmitter.
(d) Install the cover to the transmitter.



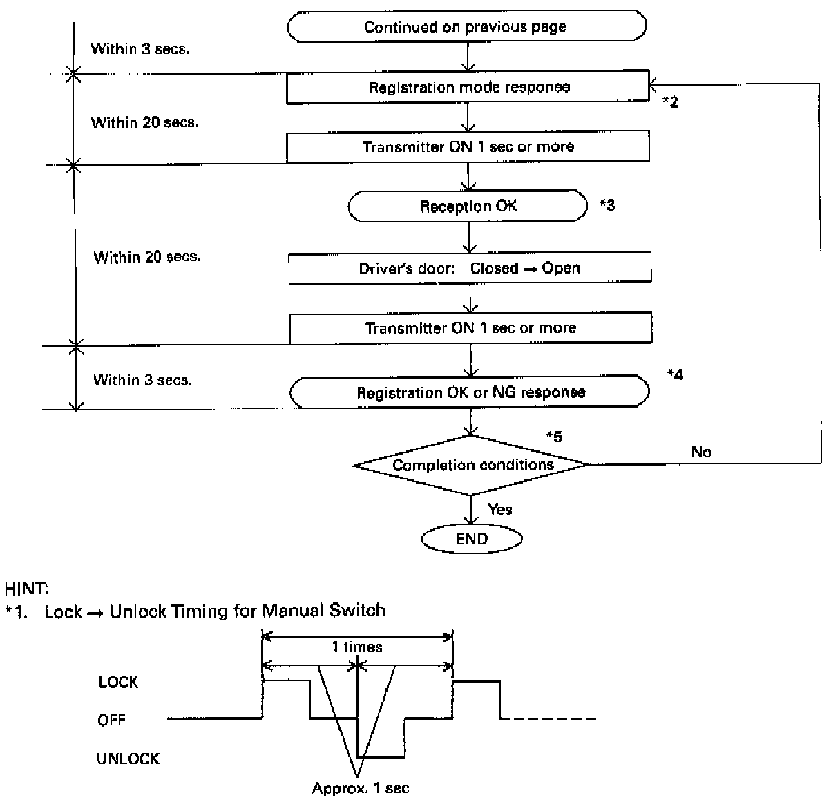
3. REGISTRATION OF RECOGNITION CODE

A maximum of 4 recognition codes can be registered using the following 4 modes.

(1) Reprogram Mode: Currently registered codes are all erased and only the new recognition codes are registered.

(2) Addition Mode: Currently registered codes are retained, and new recognition codes are also registered.

Note: If the number of registered codes exceeds 4, previously registered codes are erased in order, starting from the oldest code.

(3) Confirmation Mode: The number of codes that are currently registered can be confirmed.

(4) Erase Mode: All the registered codes are erased. (The wireless door lock function is annulled.)

Register the recognition code according to the following flow chart.


Flowchart (Part 1 Of 3):






Flowchart (Part 2 Of 3):






Flowchart (Part 3 Of 3):