Curiosii for ever!: Car repair manuals for everyone.

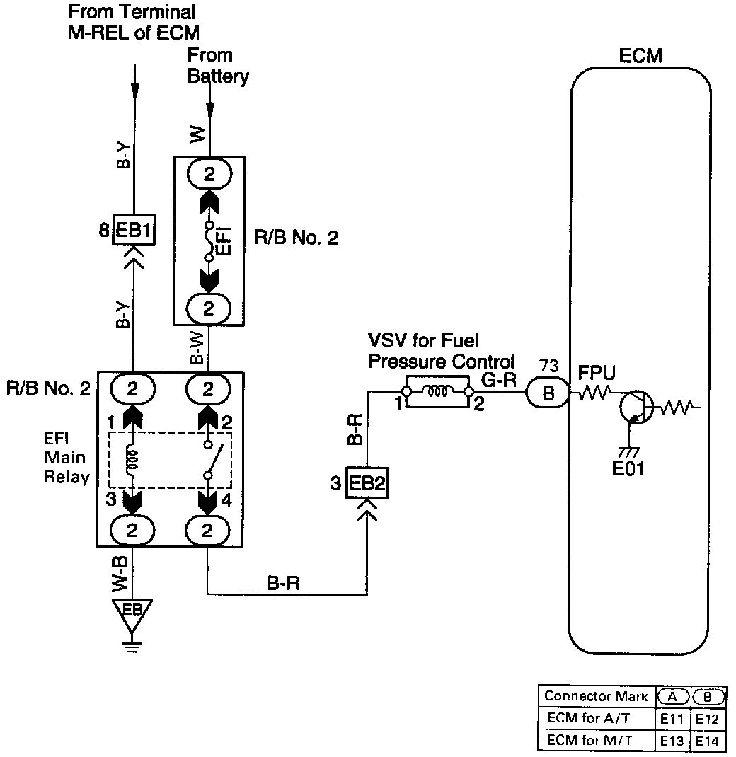
Fuel Pump Control Circuit


Fuel Pressure Control Circuit





CIRCUIT DESCRIPTION
The ECM turns on a VSV (Vacuum Switching Valve) to draw the air into the diaphragm chamber of the pressure regulator if it detects that the temperature of the engine coolant is too high during engine starting.
The air drawn into the chamber increases the fuel pressure to prevent fuel vapor lock at high engine temperature in order to help the engine start when it is warm.
Fuel pressure control ends approx. 120 sec. after the engine is started.





WIRING DIAGRAM

INSPECTION PROCEDURE

Step 1:




Step 2:




Step 3:





LEXUS hand-held tester

Step 1:




Step 2:




Step 3:





OBD II scan tool (excluding LEXUS hand-held tester)