Curiosii for ever!: Car repair manuals for everyone.

Window Control Switch




LOCATION

INSPECTION





1. INSPECT POWER WINDOW MASTER SWITCH CONTINUITY

2. INSPECT ONE TOUCH POWER WINDOW SYSTEM CURRENT OF CIRCUIT
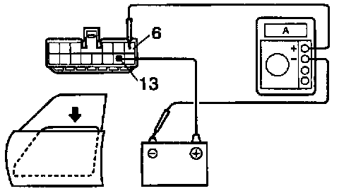
Using An Ammeter:




a. Disconnect the connector from the master switch.
b. Connect the positive (+) lead from the ammeter to terminal 6 on the wire harness side connector and the negative (-) lead to negative (-) terminal of the battery.
c. Connect the positive (+) lead from the battery to terminal 13 on the wire harness side connector.
d. As the window goes down, check that the current flow is approximately 7 A.




e. Check that the current increases up to approximately 14.5 A or more when the window stops going down.

HINT: The circuit breaker opens some 4-40 seconds after the window stops going down, so that check must be made before the circuit breaker operates.

If the operation is as specified, replace the master switch.

Using An Ammeter With a Current-measuring Probe:




a. Remove the master switch with connector connected.
b. Attach a current-measuring probe to terminal 7 of the wire harness.
c. Turn the ignition switch ON and set the power window switch in the down position.
d. As the window goes down, check that the current flow is approximately 7 A.




e. Check that the current increases up to approximately 14.5 A or more when the window stops going down.

HINT: The circuit breaker opens some 4-40 seconds after the window stops going down, so that check must be made before the circuit breaker operates.

If operation is as specified, replace the master switch.







3. INSPECT POWER WINDOW MASTER SWITCH CIRCUIT
Disconnect the connector from the master switch and inspect the connector on the wire harness side, as shown.
If the circuit is not as specified, inspect the circuits connected to other parts.







5. INSPECT POWER WINDOW SWITCH CONTINUITY
If continuity is not as specified, replace the switch.







6. INSPECT POWER WINDOW SWITCH CIRCUIT
Disconnect the connector from the switch and inspect the connector on the wire harness side, as shown.
If the circuit is not as specified, inspect the circuits connected to other parts.