Curiosii for ever!: Car repair manuals for everyone.

Power Window Switch (Master Switch)



POWER WINDOW MASTER SWITCH INSPECTION
1. INSPECT POWER WINDOW MASTER SWITCH CONTINUITY











Front Driver's Switch (Window unlock)






Front Driver's Switch (Window lock)






Front Passenger's Switch (Window unlock)






Front Passenger's Switch (Window lock)






Rear Left Switch (Window unlock)






Rear Left Switch (Window lock)






Rear Right Switch (Window unlock)






Rear Right Switch (Window lock)

If continuity is not as specified, relace the master switch.

2. INSPECT POWER WINDOW MASTER SWITCH ILLUMINATION
(a) Set the window lock switch to the unlock position.






(b) Connect the positive (+) lead from the battery to terminal 8 and the negative (-) lead to terminal 4, and check that all the illuminations light up.











(c) Set the window lock switch to the lock position, check that all the passenger's power window switch illuminations go out.
If operation is not as specified, replace the master switch.

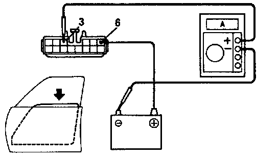
3. INSPECT ONE TOUCH POWER WINDOW SYSTEM CURRENT OF CIRCUIT USING AN AMMETER.











(a) Disconnect the connector from the master switch.
(b) Connect the positive (+) lead from the ammeter to terminal 3 on the wire harness side connector and the negative (-) lead to negative terminal of the battery.
(c) Connect the positive (+) lead from the battery to terminal 6on the wire harness side connector.
(d) As the window goes down. check that the current flow is approximately 7A.
(e) Check that the current increases up to approximately 14.5A or more when the window stops going down.

HINT: The circuit breaker opens some 4 - 40 seconds after the window stops going down. so that check must be made before the circuit breaker operates. If the operation is as specified, replace the master switch.

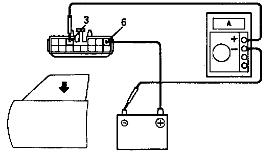
Using an ammeter with a current - measuring probe.











(a) Remove the master switch with connector connected.
(b) Attach a current-measuring probe to terminal 8 of the wire harness.
(c) Turn the ignition switch ON and set the power window switch in the down position.
(d) As the window goes down. check that the current flow is approximately 7A.
(e) Check that the current increases up to approximately 14.5A or more when the window stops going down.

HINT: The circuit breaker opens some 4 - 40 seconds after the window stops going down, so that check must be made before the circuit breaker operates.

If operation is as specified. replace the master switch.

4. INSPECT POWER WINDOW MASTER SWITCH CIRCUIT
Disconnect the connector from the master switch and inspect the connector on the wire harness side, as shown.











*: Exceptions: During 60 second after the ignition switch ON OFF (ACC) or until driver or a passenger's door is opened after the ignition switch ON OFF (ACC).

If the circuit is not as specified, inspect the circuits connected to other parts.