Curiosii for ever!: Car repair manuals for everyone.

Vehicle Speed Sensor: Testing and Inspection

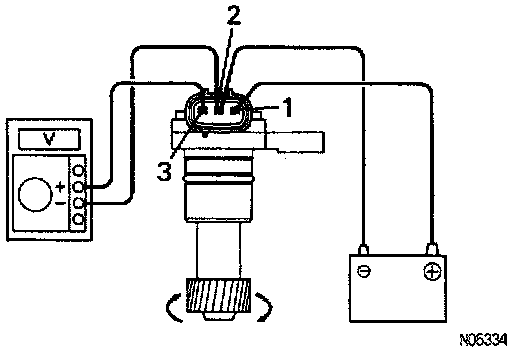
INSPECTION





1. Connect the positive (+) lead from the battery to terminal 1 and negative (-) lead to terminal 2.
2. Connect the positive (+) lead from the tester to terminal 3 and negative (-) lead to terminal 2.
3. Revolve shaft.
4. Check that there is voltage change from approximately 0.0 volts to 11.0 volts when measured between terminals 2 and 3. The voltage should change 4 times per each revolution. If not as specified, replace the Vehicle Speed Sensor.