Curiosii for ever!: Car repair manuals for everyone.

Inspection Procedure Using OBDII Scan Tool




PROCEDURE USING OBDII SCAN TOOL
1. Check Fuel Pump operation.
- Be sure that enough fuel is in the tank.





- Turn Ignition Switch ON. Using jumper connect terminals FP and + B of Data Link Connector 1 (SST 09843-18020).
- Check that pulsation damper screw rises up when terminals are connected.
- If not OK proceed to step 2.
- If OK proceed to step 4.
2. Check Engine Control Module power source circuit.
- If OK proceed to step 3.
- If not OK repair or replace.
3. Check Fuel Pump.
- If OK check for open in harness and connector between terminal FP of Data Link Connector1 and Fuel Pump, Fuel Pump and body ground
- If not OK repair or replace Fuel Pump.
4. Check Circuit Opening Relay.
- Remove glove compartment.
- Remove Circuit Opening Relay from Relay Box No. 6.





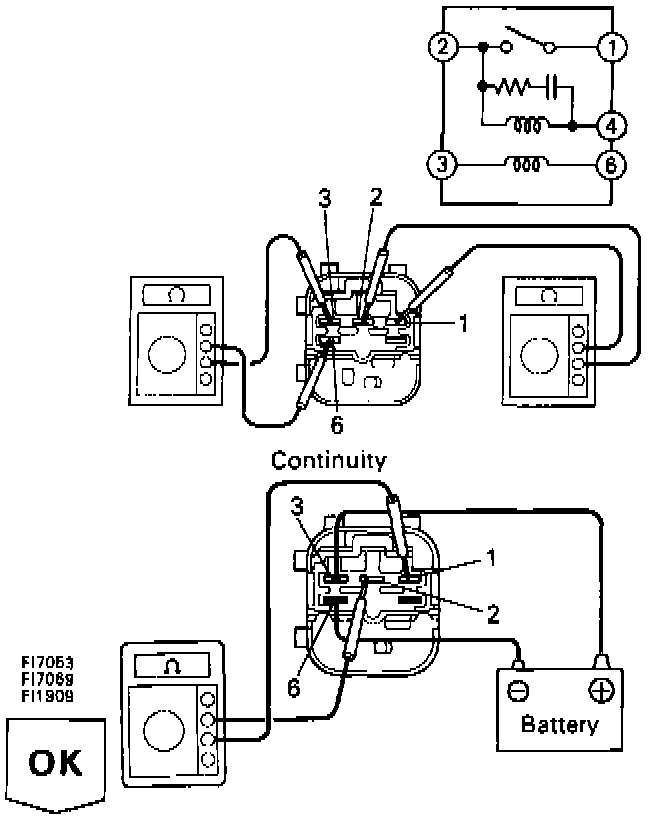
- Check continuity between terminals of Circuit Opening Relay as shown.

Terminals 1 and 2: Open.
Terminals 3 and 6: continuity.


- Apply battery voltage between terminals 3 and 6. Check continuity between terminals 1 and 2.

Terminals 1 and 2: continuity.

- If OK proceed to step 5.
- If not OK replace Circuit Opening Relay.
6. Check voltage between terminal FC of Engine Control Module and body ground.
- Remove glove compartment.
- Turn Ignition Switch ON.





- Measure voltage between terminal FC of Engine Control Module and body ground.

Voltage: 9 - 14 volts.

- If not OK proceed to step 6.
- If OK check and replace Engine Control Module.
6. Check for open in harness and connector between EFI Main Relay and Circuit Opening Relay, Circuit Opening Relay and Engine Control Module.
- If OK proceed to step 7.
- If not OK repair or replace harness or connector.
7. Check voltage between terminal 3 of Relay Box No. 6 (for Circuit Opening Relay) and body ground.
- If OK Check for open in harness and connector between terminal 6 of Circuit Opening Relay and body ground.
- If not OK check starter signal circuit.