Curiosii for ever!: Car repair manuals for everyone.

Ignition Relay: Testing and Inspection

Ignition Relay Inspection - Checking Continuity:






Inspect relay continuity

(a) Using an ohmmeter, check that there is continuity between terminals 3 and 6.

(b) Check that there is continuity between terminals 4 and 5.

(c) Check that there is no continuity between terminals 1 and 2.

If continuity is not as specified, replace the relay.


Ignition Relay Inspection - Checking Operation:





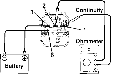
Inspect relay operation

(a) Apply battery voltage across terminals 3 and 6.

(b) Using an ohmmeter, check that there is continuity between terminals 1 and 2.


Ignition Relay Inspection - Checking Operation:





(c) Apply battery voltage across terminals 4 and 5.

(d) Using an ohmmeter, check that there is continuity between terminals 1 and 2.

If operation is not as specified, replace the relay.