Curiosii for ever!
: Car repair manuals for everyone.
Home
>>
Lexus
>>
1991
>>
ES 250 V6-2.5L (2VZ-FE)
>>
Repair and Diagnosis
>>
Maintenance
>>
Alignment
>>
Service and Repair
>>
Vehicle Ride Height
Vehicle Ride Height
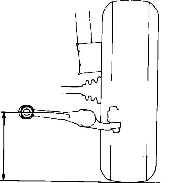
Fig. 1 Front Ride Height Inspection Location:
Refer to
Figs. 1 and 2
for inspection locations. Front height should be 8.58 inches. Rear height should be 9.65 inches.