Curiosii for ever!: Car repair manuals for everyone.

Fuel Pump Control Circuit





2GR-FE ENGINE CONTROL: SFI SYSTEM: Fuel Pump Control Circuit
- Fuel Pump Control Circuit

DESCRIPTION

Refer to DTC P0230 P0230.

WIRING DIAGRAM





INSPECTION PROCEDURE

NOTICE:
Inspect the fuses for circuits related to this system before performing the following inspection procedure.

PROCEDURE

1. CHECK FUEL PUMP OPERATION

(a) Check the fuel pump operation Fuel System.

NG -- PERFORM ACTIVE TEST USING TECHSTREAM (OPERATE CIRCUIT OPENING RELAY)
OK -- Continue to next step.

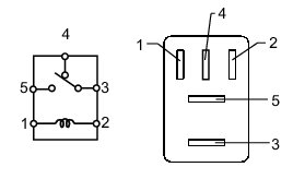
2. INSPECT RELAY (F/PMP RELAY)

(a) Remove the F/PMP relay from the engine room relay block.





(b) Measure the resistance according to the value(s) in the table below.

Standard Resistance:





(c) Reinstall the F/PMP relay.

NG -- REPLACE RELAY (F/PMP RELAY)
OK -- Continue to next step.

3. INSPECT FUEL PUMP RESISTOR

(a) Disconnect the fuel pump resistor connector.





(b) Measure the resistance according to the value(s) in the table below.

Standard Resistance:





Text in Illustration





(c) Reconnect the fuel pump resistor connector.

NG -- REPLACE FUEL PUMP RESISTOR Removal
OK -- Continue to next step.

4. CHECK HARNESS AND CONNECTOR (F/PMP RELAY - FUEL PUMP RESISTOR)

(a) Remove the F/PMP relay from the engine room relay block.

(b) Disconnect the fuel pump resistor connector.

(c) Measure the resistance according to the value(s) in the table below.

Standard Resistance (Check for Open):





Standard Resistance (Check for Short):





(d) Reinstall the F/PMP relay.

(e) Reconnect the fuel pump resistor connector.

NG -- REPAIR OR REPLACE HARNESS OR CONNECTOR (F/PMP RELAY - FUEL PUMP RESISTOR)

OK -- PROCEED TO NEXT SUSPECTED AREA SHOWN IN PROBLEM SYMPTOMS TABLE Symptom Related Diagnostic Procedures

5. PERFORM ACTIVE TEST USING TECHSTREAM (OPERATE CIRCUIT OPENING RELAY)

(a) Connect the Techstream to the DLC3.

(b) Turn the engine switch on (IG) and turn the Techstream on.

(c) Enter the following menus: Powertrain / Engine / Active Test / Control the Fuel Pump / Speed.

(d) Check the operation of the relay while operating it using the Techstream.

OK:

Operating noise can be heard from the relay.

NG -- INSPECT RELAY (C/OPN RELAY)
OK -- Continue to next step.

6. INSPECT FUEL PUMP

(a) Inspect the fuel pump Inspection.

NG -- REPLACE FUEL PUMP Removal
OK -- Continue to next step.

7. CHECK HARNESS AND CONNECTOR (FUEL PUMP - F/PMP RELAY)

(a) Disconnect the fuel pump connector.

(b) Remove the F/PMP relay from the engine room relay block.

(c) Measure the resistance according to the value(s) in the table below.

Standard Resistance (Check for Open):





Standard Resistance (Check for Short):





(d) Reinstall the F/PMP relay.

(e) Reconnect the fuel pump connector.

NG -- REPAIR OR REPLACE HARNESS OR CONNECTOR (FUEL PUMP - F/PMP RELAY)
OK -- Continue to next step.

8. INSPECT ENGINE ROOM RELAY BLOCK (C/OPN RELAY - F/PMP RELAY)

(a) Remove the C/OPN relay from the engine room relay block.

(b) Remove the F/PMP relay from the engine room relay block.

(c) Measure the resistance according to the value(s) in the table below.

Standard Resistance (Check for Open):





Standard Resistance (Check for Short):





(d) Reinstall the C/OPN relay.

(e) Reinstall the F/PMP relay.

NG -- REPAIR OR REPLACE HARNESS OR CONNECTOR (C/OPN RELAY - F/PMP RELAY)
OK -- Continue to next step.

9. CHECK HARNESS AND CONNECTOR (FUEL PUMP - BODY GROUND)

(a) Disconnect the fuel pump connector.

(b) Measure the resistance according to the value(s) in the table below.

Standard Resistance (Check for Open):





(c) Reconnect the fuel pump connector.

NG -- REPAIR OR REPLACE HARNESS OR CONNECTOR (FUEL PUMP - BODY GROUND)
OK -- Continue to next step.

10. CHECK FUEL LINE

(a) Check the fuel lines for leaks or blockage.

OK:

No leaks or blockage

NG -- REPAIR OR REPLACE FUEL LINE

OK -- REPAIR OR REPLACE FUEL SYSTEM (PRESSURE REGULATOR AND FUEL FILTER)

11. INSPECT RELAY (C/OPN RELAY)

(a) Remove the C/OPN relay from the engine room relay block.





(b) Measure the resistance according to the value(s) in the table below.

Standard Resistance:





(c) Reinstall the C/OPN relay.

NG -- REPLACE RELAY (C/OPN RELAY)
OK -- Continue to next step.

12. CHECK HARNESS AND CONNECTOR (C/OPN RELAY VOLTAGE)

(a) Remove the C/OPN relay from the engine room relay block.





(b) Turn the engine switch on (IG).

(c) Measure the voltage according to the value(s) in the table below.

Standard Voltage:





Text in Illustration





(d) Reinstall the C/OPN relay.

NG -- REPLACE ENGINE ROOM RELAY BLOCK
OK -- Continue to next step.

13. CHECK HARNESS AND CONNECTOR (C/OPN RELAY - ECM)

(a) Remove the C/OPN relay from the engine room relay block.

(b) Disconnect the ECM connector.

(c) Measure the resistance according to the value(s) in the table below.

Standard Resistance (Check for Open):





Standard Resistance (Check for Short):





(d) Reconnect the ECM connector.

(e) Reinstall the C/OPN relay.

NG -- REPAIR OR REPLACE HARNESS OR CONNECTOR (C/OPN RELAY - ECM)

OK -- REPLACE ECM Removal