Curiosii for ever!: Car repair manuals for everyone.

Navigation ECU Communication Stop Mode





NETWORKING: CAN COMMUNICATION SYSTEM: Navigation ECU Communication Stop Mode
- Navigation ECU Communication Stop Mode

DESCRIPTION





WIRING DIAGRAM





INSPECTION PROCEDURE

NOTICE:
* Turn the engine switch off before measuring the resistances between CAN bus main wires and between CAN bus branch wires.
* Turn the engine switch off before inspecting CAN bus wires for a ground short.
* After the engine switch is turned off, check that the key reminder warning system and light reminder warning system are not operating.
* Before measuring the resistance, leave the vehicle as is for at least 1minute and do not operate the engine switch, any other switches or the doors. If any doors need to be opened in order to check connectors, open the doors and leave them open.

HINT
* Operating the engine switch, any other switches or a door triggers related ECU and sensor communication on the CAN. This communication will cause the resistance value to change.
* Even after DTCs are cleared, if a DTC is stored again after driving the vehicle for a while, the malfunction may be occurring due to vibration of the vehicle. In such a case, wiggling the ECUs or wire harness while performing the inspection below may help determine the cause of the malfunction.

PROCEDURE

1. CHECK OPEN IN CAN BUS WIRE (NAVIGATION ECU BRANCH LINE)

(a) Turn the engine switch off.

(b) Disconnect the navigation ECU connector.





Text in Illustration





(c) Measure the resistance according to the value(s) in the table below.

Standard Resistance:





NG -- REPAIR OR REPLACE CAN BUS BRANCH WIRE OR CONNECTOR (NAVIGATION ECU BRANCH WIRE)
OK -- Continue to next step.

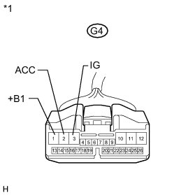
2. CHECK HARNESS AND CONNECTOR (POWER SOURCE TERMINAL)

(a) Measure the voltage according to the value(s) in the table below.





Standard Voltage:





Text in Illustration





NG -- REPAIR OR REPLACE HARNESS OR CONNECTOR (POWER SOURCE TERMINAL)
OK -- Continue to next step.

3. CHECK HARNESS AND CONNECTOR (GROUND TERMINAL)

(a) Measure the resistance according to the value(s) in the table below.





Standard Resistance:





Text in Illustration





Result:





B -- REPLACE DISPLAY AND NAVIGATION MODULE DISPLAY (NAVIGATION ECU) Removal

C -- REPAIR OR REPLACE HARNESS OR CONNECTOR (GROUND TERMINAL)

A -- REPLACE DISPLAY AND NAVIGATION MODULE DISPLAY (NAVIGATION ECU) Removal