Curiosii for ever!: Car repair manuals for everyone.

Rear Wheel Alignment





ALIGNMENT / HANDLING DIAGNOSIS: REAR WHEEL ALIGNMENT: ADJUSTMENT

NOTICE:
If the wheel alignment has been adjusted, and if suspension or underbody components have been removed/installed or replaced, be sure to perform the following initialization procedure in order for the system to function normally:

(a) Perform zero point calibration of the yaw rate and acceleration sensor and test mode inspection.

1. INSPECT TIRES

Component Tests and General Diagnostics

2. MEASURE VEHICLE HEIGHT Front Wheel Alignment

3. INSPECT CAMBER

Camber (Unloaded Vehicle):





HINT
Camber is not adjustable. If the measurement is not within the specified range, inspect the suspension parts for damage and/or wear, and replace them if necessary.

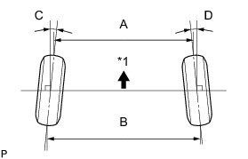
4. INSPECT TOE-IN

Text in Illustration





Toe-in (Unloaded Vehicle):









If the toe-in is not within the specified range, adjust it at the rear No. 2 suspension arms.

HINT
Measure "B - A" only when "C + D" cannot be measured.

5. ADJUST TOE-IN

(a) Measure the distance between each wheel disc and the center of the toe-adjusting cam.

Difference in the distance between each wheel disc and the center of the toe-adjusting cam:

1.0 mm (0.0394 in.) or less

If the left-right difference is not within the specified range, adjust it by following the procedures below.

(b) Loosen the toe-adjust cam set nuts.





Text in Illustration





(c) If the distance between each wheel disc and the center of the toe-adjusting cam is not within the specified range, adjust it by following the procedures below.

(1) If the toe-in measurement is greater than the specified range, extend the shorter rear No. 2 suspension arm assembly by rotating the adjust cams in the direction of arrow B in the illustration.

(2) If the toe-in measurement is less than the specified range, shorten the longer rear No. 2 suspension arm assembly by rotating the adjust cams in the direction of arrow A in the illustration.

(3) Measure the toe-in.

(d) Turn the adjust cams by an equal amount to adjust the toe-in.

HINT
* Try to adjust the toe-in to the center of the specified range.
* One graduation of each adjusting cam will adjust the toe-in by approximately 2.1 mm (0.0827 in.).

(e) Tighten the toe-adjust cam set nuts.

Torque : 100 Nm (1020 kgf-cm, 74 ft-lbf)

NOTICE:
The final torque must be applied under standard vehicle height conditions.

6. PLACE FRONT WHEELS FACING STRAIGHT AHEAD

7. PERFORM YAW RATE SENSOR ZERO POINT CALIBRATION

HINT
Perform the yaw rate sensor zero point calibration Programming and Relearning.

8. PERFORM INITIALIZATION

HINT
Some systems need to be initialized after the wheel alignment is adjusted Repair Instruction - Initialization.