Curiosii for ever!: Car repair manuals for everyone.

Operation Check





THEFT DETERRENT / KEYLESS ENTRY: SMART ACCESS SYSTEM WITH PUSH-BUTTON START (for Start Function): OPERATION CHECK

1. OPERATION DESCRIPTION

(a) Smart ignition function:

(1) When the key is in the detection area inside the vehicle and the brake pedal is depressed, the engine is started by pressing the engine switch.

(2) When the key is in the detection area inside the vehicle and the brake pedal is not depressed, the power source mode is changed by pressing the engine switch. The power source mode changes in the following order every time the engine switch is pressed: off -> on (ACC) -> on (IG) -> off.

(3) After getting into the vehicle while carrying the key when the engine switch is off, if the engine switch is pressed while not depressing the brake pedal, the power source mode changes to ACC and the engine switch indicator illuminates in amber.

(4) After getting into the vehicle while carrying the key when the engine switch is off, if the brake pedal is depressed while the shift lever is in P or N, the engine switch indicator illuminates in green.

(5) The engine starts if the engine switch is pressed when the engine switch indicator is illuminated in green.

(b) Changing the power source mode when the key does not operate correctly due to wave interference or key battery depletion:

(1) Unlock the door using the built-in mechanical key and get into the vehicle while carrying the key.

(2) While depressing the brake pedal, hold the ornament side of the key against the engine switch.

(3) When a buzzer sound is heard from the buzzer in the combination meter, release the brake pedal within 10 seconds. By pressing the engine switch while not depressing the brake pedal, the power source mode changes in the following order every time the engine switch is pressed: off -> on (ACC) -> on (IG) -> off.

(c) Starting the engine when the key does not operate correctly due to wave interference or key battery depletion:

(1) Unlock the door using the built-in mechanical key and get into the vehicle while carrying the key.

(2) While depressing the brake pedal with the shift lever in P or N, hold the ornament side of the key against the engine switch.

(3) When a buzzer sound is heard from the buzzer in the combination meter and the engine switch indicator illuminates in green, press the engine switch within 10 seconds while keeping the brake pedal depressed to start the engine.

2. CHECK SMART IGNITION FUNCTION

(a) Check the smart ignition function:

(1) Get into the vehicle while carrying the key with the engine switch off. With the shift lever in P, check that the engine switch indicator illuminates in green when the brake pedal is depressed. Then check that the engine starts when the engine switch is pressed after the engine switch indicator illuminates in green.

(2) While the brake pedal is released and the key is being carried, check that the power source mode changes in the following order when the engine switch is pressed: off -> on (ACC) -> on (IG) -> off.

HINT
When the engine switch is pressed with the engine switch on (IG) and the shift lever not in P, the power source mode does not change to off, but changes to on (ACC).

(3) With the shift lever in P, check that the steering lock operates when a door is opened.

HINT
When the engine switch is pressed after the vehicle is stopped, the engine stops and all the power turns off. However, if the shift lever is not in P when the engine switch is pressed with the vehicle stopped, the power source mode does not change to off, but changes to on (ACC).

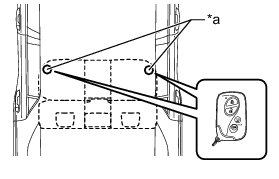
(4) Check the smart ignition operation range for the front side. Place the key in either of the two locations making sure that the key is oriented as shown in the illustration, and then check that the engine can be started.





Text in Illustration





NOTICE:
* Even if the key is in the vehicle interior key detection area, the key may not be properly detected if the key is on the instrument panel, in the glove box or on the floor.
* If the key is within 0.2 m (0.66 ft.) of the shift lever, communication may not be possible.

HINT
Perform this inspection for both inspection points.

(5) Check the smart ignition operation range for the rear side. Place the key in either of the two locations making sure that the key is oriented as shown in the illustration, and then check that the engine can be started.





Text in Illustration





NOTICE:
* Even if the key is in the vehicle interior key detection area, the key may not be properly detected if the key is on the instrument panel, in the glove box or on the floor.
* If the key is within 0.2 m (0.66 ft.) of the center of the rear seat, communication may not be possible.

HINT
Perform this inspection for both inspection points.

(6) Check the smart ignition operation range for the luggage compartment. Place the key in either of the two locations making sure that the key is oriented as shown in the illustration, and then check that the engine can be started.





Text in Illustration





HINT
Perform this inspection at both locations in the luggage compartment.

3. CHECK POWER SOURCE MODE CHANGING FUNCTION

(a) Check the engine switch.

(1) Check that the power source mode changes according to the chart below.





HINT
*: This situation is only applicable when the power source mode has changed from on (IG) to on (ACC).

4. CHECK POWER SOURCE MODE INDICATION





Text in Illustration





(a) Check the engine switch indicator.

Indicator Inspection





HINT

*: Condition in which engine can be started is as follows:





* *: When the key is in the vehicle, the ID code sent as a result from communication between the key and certification ECU and the ID code calculated by the certification ECU are compared. If the ID codes match each other, the vehicle recognizes that the key is in the vehicle.

(1) Indicator Condition Chart