Curiosii for ever!: Car repair manuals for everyone.

Air Conditioning Control Assembly

INSPECTION




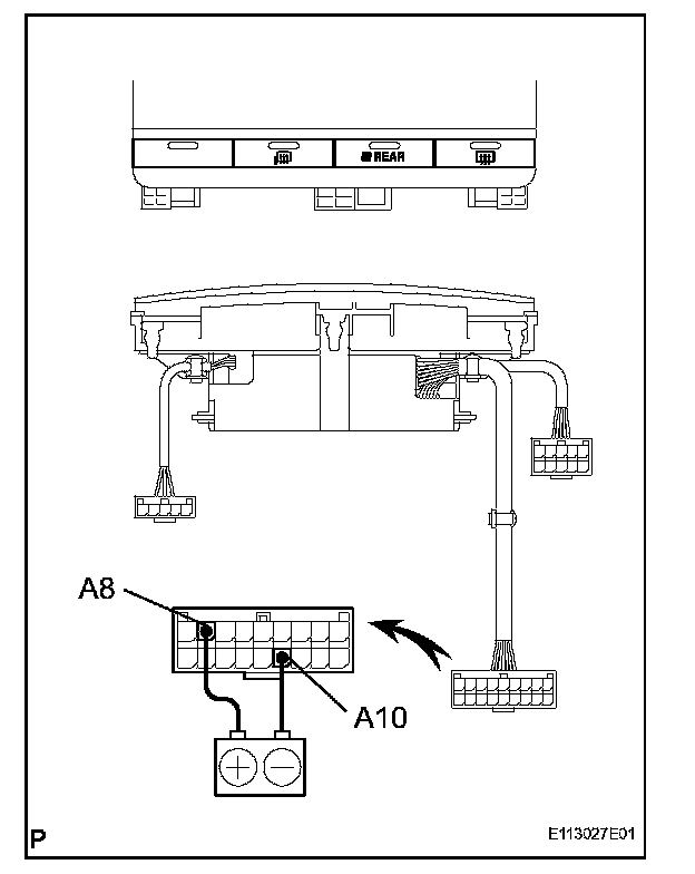
1. INSPECT INDICATOR (w/ Navigation System)
a. Connect the positive (+) lead from the battery to terminal A8 and negative (-) lead to terminal A10.
b. Check that the indicators come on while operating the switches.

If the operation is not as specified, replace the heater control.

2. INSPECT INTEGRATION CONTROL PANEL ASSEMBLY
a. Inspect the integration control panel assembly.

3. INSPECT ILLUMINATION LIGHT (w/o Navigation System)




a. Connect the positive (+) lead from the battery to terminal C10 and negative (-) lead to terminal C19, and then check that the indicators illuminate.

If the operation is not as specified, check the faulty bulb.

b. Remove the bulb.




c. Using an ohmmeter as shown in the illustration, test the continuity.

If continuity exists, replace the heater control.

If no continuity exists, replace the bulb.




4. INSPECT INDICATOR (w/o Navigation System)
a. Connect the positive (+) lead from the battery to terminal C22 and negative (-) lead to terminal C12.
b. Check that the indicators come on while operating the switches.

If the operation is not as specified, replace the heater control.

5. INSPECT HEATER CONTROL ASSEMBLY (w/o Navigation System)
a. Inspect the heater control assembly.