Curiosii for ever!
: Car repair manuals for everyone.
Home
>>
Lexus Truck
>>
2000
>>
RX 300 AWD V6-3.0L (1MZ-FE)
>>
Repair and Diagnosis
>>
Powertrain Management
>>
Computers and Control Systems
>>
Relays and Modules - Computers and Control Systems
>>
Body Control Module
>>
Testing and Inspection
>>
Component Tests and General Diagnostics
>>
Illumination Circuit
Illumination Circuit
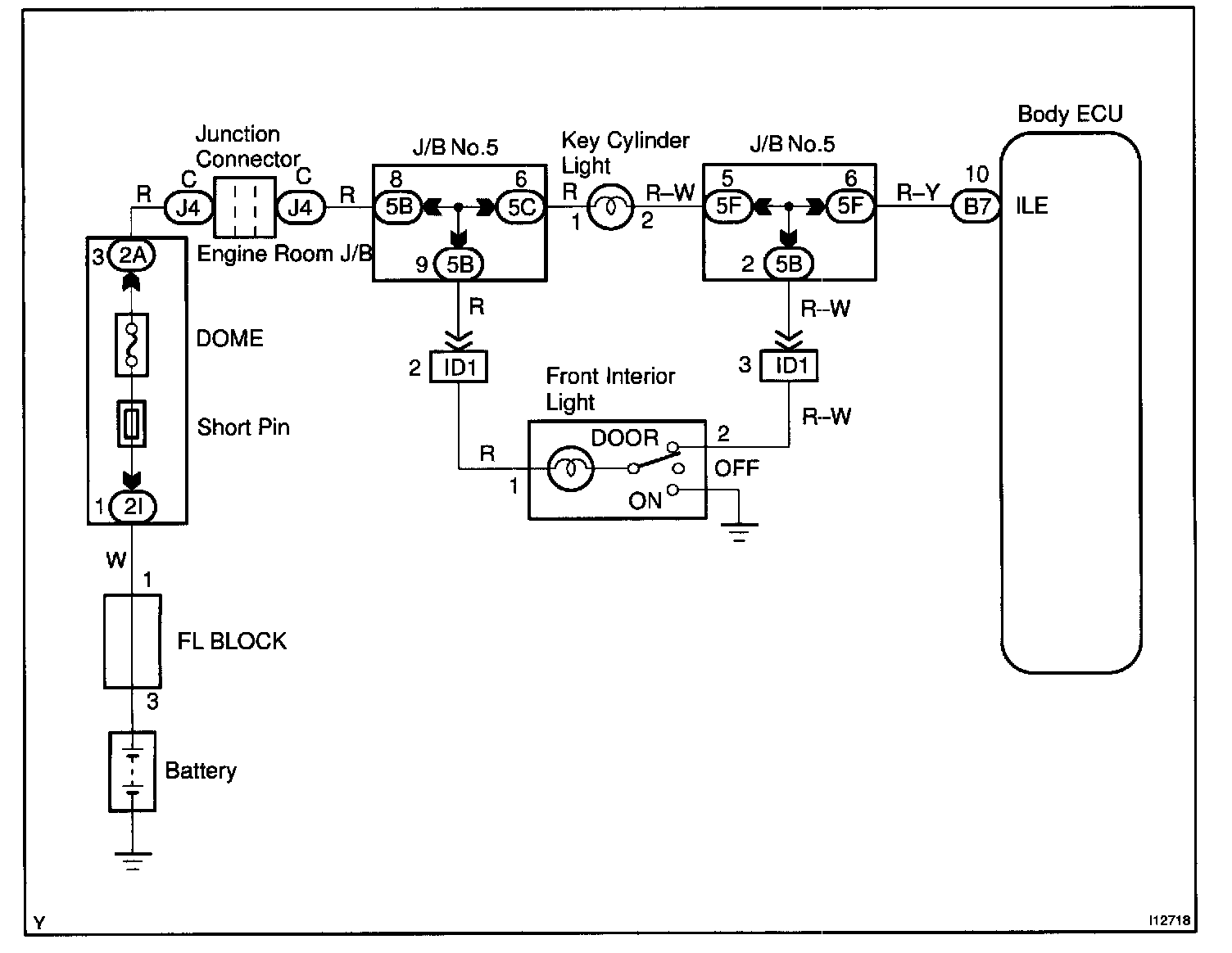
CIRCUIT DESCRIPTION
Receiving the courtesy signal from either of the door ECU, the Body ECU will make the front interior light and ignition light, come on.
Wiring Diagram:
Steps 1 - 3:
INSPECTION PROCEDURE