Curiosii for ever!: Car repair manuals for everyone.

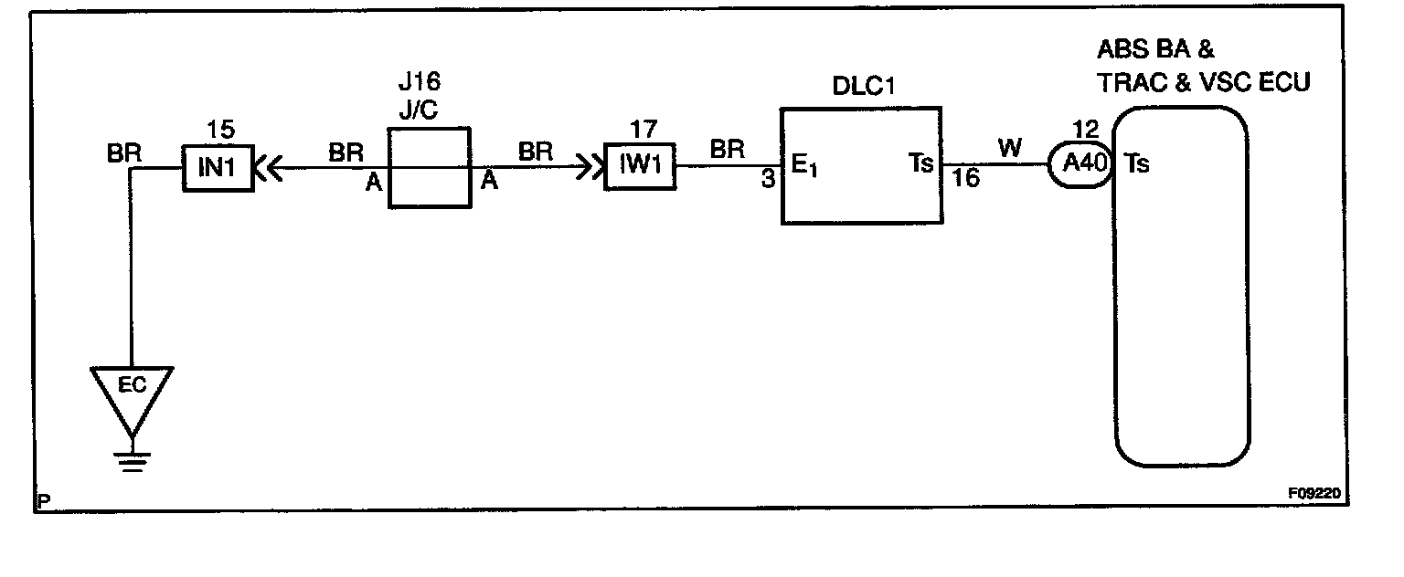
Ts Terminal Circuit

CIRCUIT DESCRIPTION
The sensor check circuit detects abnormalities in the speed sensor signal which cannot be detected by the DTC check.
Connecting terminals Ts and E1 of the DLC1 or Tc starts the check.




WIRING DIAGRAM

Step 1:




Step 2:




INSPECTION PROCEDURE