Curiosii for ever!: Car repair manuals for everyone.

86.77.29 Module (ECU) - Volumetric - Alarm System - 5 Door - Without Sunroof



86.77.29 Module (ECU) - Volumetric - Alarm System - 5 Door - Without Sunroof

Remove
1. Remove LH rear quarter upper trim casing.
2. Remove LH 'A' post upper finisher.
3. Release front and rear LH door seals.







4. Remove screw covers and screws from both LH grab handles and remove grab handles.
5. Remove LH sun visor.







6. Remove trim stud securing forward edge of headlining.







7. Remove 2 trim studs securing centre of headlining.







8. Up to 04MY: Remove lens from front interior lamp.
9. Up to 04MY: Remove 2 Torx screws securing front interior lamp to body.
10. Up to 04MY: Release front interior lamp from headlining, disconnect multiplug and remove lamp.







11. From 04MY: Working from lamp forward edge, release front interior lamp from headlining, disconnect multiplug and remove lamp.







12. Release LH 'B/C' post upper finisher.
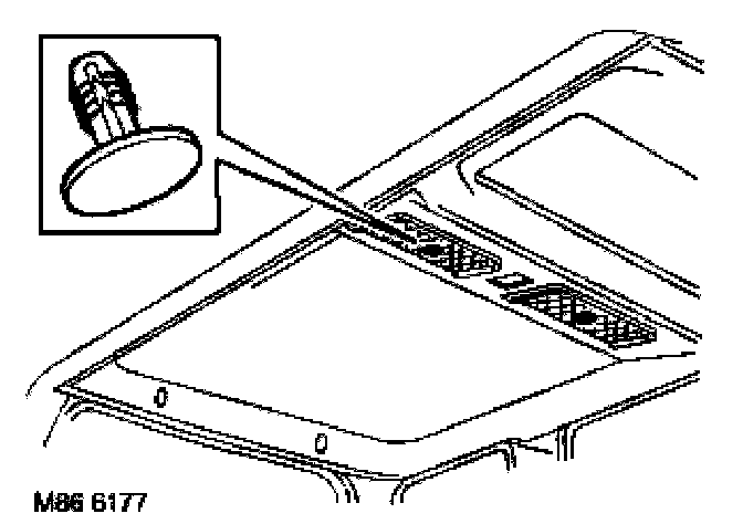
13. Carefully lower headlining to gain access to volumetric sensor.







14. Disconnect multiplug from volumetric sensor.
15. Remove 2 screws and remove sensor.

Refit
1. Fit volumetric sensor and secure with screws.
2. Connect multiplug to sensor.
3. Raise headlining and secure with trim studs.
4. Up to 04MY: Position front interior lamp and connect multiplug.
5. Up to 04MY: Fit Torx bolts securing interior lamp and tighten to 6 Nm (4.4 lbf.ft).
6. Up to 04MY: Fit lens to front interior lamp.
7. From 04MY: Position front interior lamp and connect multiplug.
8. From 04MY: Fit and secure front interior lamp to headlining.
9. Position 'B/C' post upper finisher and secure with clips.
10. Fit sun visor.
11. Fit grab handles, tighten screws and fit screw covers.
12. Fit 'A' post upper finisher.
13. Fit rear quarter upper trim casing.
14. Secure front and rear door seals.