Curiosii for ever!: Car repair manuals for everyone.

86.77.29 Module (ECU) - Volumetric - Alarm System - 5 Door - With Sunroof



86.77.29 Module (ECU) - Volumetric - Alarm System - 5 Door - With Sunroof

Remove
1. Release front and rear door aperture seals.
2. Remove 'A' post upper finishers.







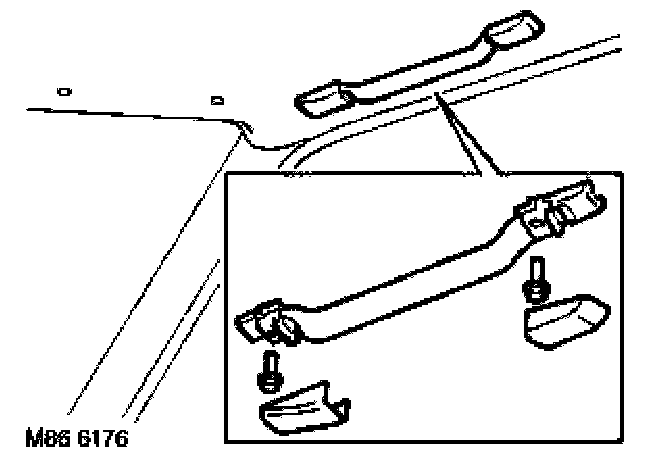
3. Remove screw covers, remove 6 screws securing front and both rear grab handles and remove grab handles.







4. Remove grab handle blanking plugs.







5. Release and remove sun roof finisher.
6. Remove both sun visors.







7. Remove trim stud securing forward edge of headlining.







8. Up to 04MY: Remove lens from front interior lamp.
9. Up to 04MY: Remove 2 Torx screws securing front interior lamp to body.
10. Up to 04MY: Release front interior lamp from headlining, disconnect multiplug and remove lamp.







11. From 04MY: Working from lamp forward edge, release front interior lamp from headlining, disconnect multiplug and remove lamp.







12. Remove 2 trim studs securing centre of headlining.







13. Release 8 clips securing both 'B/C' post upper finishers and pull finishers clear of headlining.
14. Carefully lower headlining to gain access to volumetric sensor.







15. Disconnect multiplug from volumetric sensor.
16. Remove 2 screws securing volumetric sensor and remove sensor.

Refit
1. Fit volumetric sensor and secure with screws.
2. Connect multiplug to sensor.
3. Secure the headlining with trim studs.
4. Position 'B/C' post upper finisher and secure with clips.
5. Fit sun visors.
6. Fit 'A' post upper finishers.
7. Fit grab handles, tighten screws and fit screw covers.
8. Fit grab handle blanking plugs.
9. Up to 04MY: Position front interior lamp and connect multiplug.
10. Up to 04MY: Fit Torx bolts securing interior lamp and tighten to 6 Nm (4.4 lbf.ft).
11. Up to 04MY: Fit lens to front interior lamp.
12. From 04MY: Position front interior lamp and connect multiplug.
13. From 04MY: Fit and secure front interior lamp to headlining.
14. Position and secure sun roof finisher.
15. Secure front and rear door seals.