Curiosii for ever!: Car repair manuals for everyone.

Refit


Piston Assemblies - Engine Set

Service Repair No - 12.17.03.01


Refit
1. Lubricate cylinder bores, pistons and rings with clean engine oil, ensure ring gaps are correctly spaced.
2. Clean bearing shell recesses in connecting rods and bearing caps.
3. Fit selected connecting rod bearing shells to connecting rods and bearing caps.
4. Fit piston ring clamp, LRT-12-204, to each piston in turn and fit piston to its respective cylinder liner. Remove piston ring clamp.
5. Clean crankshaft main bearing and big-end journals.
6. Lubricate thrust washers with clean engine oil, position thrust washers in cylinder block each side of No. 4 main bearing bore.
7. Fit main bearing shells, grooved into cylinder block and plain into bearing ladder.
8. Lubricate crankshaft journals with clean engine oil. Hold crankshaft with big end journals horizontal, lower crankshaft into main bearings.
9. Clean cylinder liner sealing faces and mating faces in cylinder block. Ensure sealing faces are perfectly dry.





10. Apply a 2.00 mm thick continuous bead of sealant, Part No. STC 50552, around shoulder of each cylinder liner as shown.
11. Keeping cylinder liner 'square' to cylinder block, push each liner fully down until shoulder of liner seats against cylinder block with the 'FRONT' mark on the piston to engine front.
12. To prevent cylinder liners from being displaced, position LRT-12-144 cylinder liner clamps and secure to cylinder block with cylinder head bolts. Ensure that feet of clamps do not protrude over liner bores.
13. Carefully pull connecting rods into place, fit big end caps noting that featherways are on opposite sides and tighten dowel bolts finger tight.
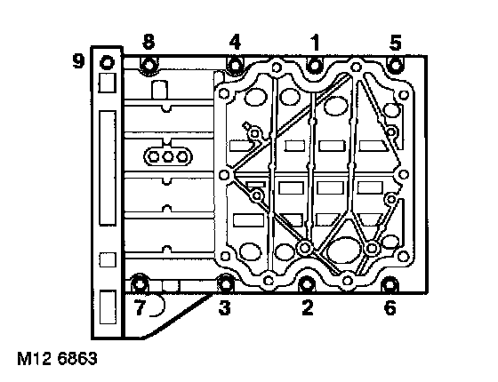
14. Tighten big-end bolts to 20 Nm (15 ft. lbs.) then a further 70°.
15. Using a lint free cloth and a suitable cleaning solvent, clean bearing ladder and mating face on cylinder block.
16. Apply grease to crankshaft thrust washers and fit to bearing ladder with oil grooves facing outwards.
17. Fit bearing ladder and ensure that all bearing shells are seated correctly.





18. Fit new bolts and tighten in the sequence shown on the bearing ladder to 20 Nm (15 ft. lbs.), and then in sequence, tighten a further 90°.

NOTE: The long bolts must be fitted on the inside.

19. Use a lint free cloth and a suitable cleaning solvent to clean surfaces on cylinder block and lower crankcase.





20. Apply a continuous bead of sealant, Part No. STC 4600 to paths shown on lower crankcase, then spread to an even film using a roller.

CAUTION: To avoid contamination, assembly should be completed immediately after application of sealant.





21. Position lower crankcase to cylinder block, fit and tighten M8 bolts in the sequence shown to 35 Nm (26 ft. lbs.) and the two rear M6 bolts to 9 Nm (7 ft. lbs.).
22. After one minute, re-torque lower crankcase M8 bolts to 35 Nm (26 ft. lbs.).
23. Clean oil pick-up strainer and mating face.
24. Lubricate new 'O' ring with clean engine oil and fit to pick-up strainer.
25. Position oil pick-up strainer, fit and tighten bolt to 25 Nm (18 ft. lbs.).
26. Using a lint free cloth and a suitable cleaning solvent, clean oil pump, oil seal recess in oil pump body and mating face on cylinder block.
27. Clean oil seal running surface on crankshaft.
28. Fit new oil pump gasket, dry, to cylinder block. Position oil pump to cylinder block aligning oil pump drive to flats on crankshaft.
29. Fit new Patchlok bolts securing oil pump to cylinder block, tighten bolts in the sequence shown to 25 Nm (18 ft. lbs.).
30. Fit oil seal guide, from seal kit, over end of crankshaft.
31. Position new seal on crankshaft up against oil pump housing. Drift seal into place using tool LRT-12-202.
32. Remove LRT-12-202 and oil seal guide from crankshaft.
33. Fit engine sump.
34. Fit crankshaft rear oil seal.
35. Remove LRT-12-144 cylinder liner clamps from cylinder block.
36. Fit cylinder head gaskets.
37. Lubricate oil filter sealing ring with clean engine oil.
38. Fit new oil filter.
39. Fit engine and gearbox.