Automatic Transmission/Transaxle: Service and Repair
Remove
1. Position vehicle on a four post lift.
2. Release fixings from battery cover and remove cover.
3. Disconnect battery earth lead.
4. Petrol models: Release clips securing cooling fan cowl and remove cowl.
5. Petrol models: Remove 3 bolts securing engine RH lifting eye to cylinder head and position earth strap and lifting eye aside.
6. Diesel Models: Remove starter motor.
7. Remove window switch pack.
8. With the handbrake released, remove clip and clevis pin securing handbrake cable to handbrake.
9. Raise vehicle and release handbrake cable and grommet from tunnel.
10. Drain gearbox.
11. Drain transfer gearbox fluid.
12. Petrol models: Remove exhaust front pipe.
13. Diesel models: Remove chassis crossmember.
14. Remove 4 bolts securing transmission mounting assembly and remove assembly.
15. Fit LRT-99-007, to transmission jack and secure to transmission mounting bracket location holes with bolts.
16. Remove transmission jack from under brake drum.
17. Remove 4 bolts securing rear propeller shaft guard and remove guard.
18. Raise one wheel on each axle to allow rotation of propeller shafts.
19. Mark transfer box and propeller shaft flanges to aid re-assembly.
20. Remove 4 nuts from each propeller shaft flange.
21. Release propeller shafts and tie aside.
22. Lower gearbox for access.
CAUTION: Position jack and wooden block under sump to support engine.
23. Remove split pin securing gear selector cable trunnion to gearbox lever and release trunnion.
24. Remove 2 bolts securing gear selector cable abutment bracket and harness support bracket to gearbox, and position selector cable and brackets aside.
25. Disconnect multiplugs from gear selection position switch and gearbox speed sensor.
26. Disconnect 2 Lucars from transfer box fluid temperature sensor.
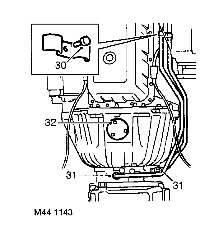
27. Disconnect multiplugs from High/Low motor and output shaft speed sensor.
28. Release harness from 3 clips.
29. Remove 2 banjo bolts securing breather pipes to gearbox and transfer box, remove and discard sealing washers.
CAUTION: Plug the connections.
30. Remove 2 bolts and release 1 clip securing fuel and purge pipe retaining brackets to gearbox and transfer box.
31. Remove bolt from clamp securing gearbox fluid cooler pipes to engine.
32. Loosen unions and release gearbox oil cooler pipes, discard O-rings.
CAUTION: Plug the connections.
33. Remove 3 bolts securing converter housing lower access cover, remove cover and discard gasket.
34. Remove access plug and mark drive plate and torque converter to aid re-assembly.
35. Rotate engine to gain access and remove 4 bolts securing drive plate to converter.
36. Remove 14 bolts securing gearbox to engine and collect crash bracket.
37. With assistance remove transmission assembly.
CAUTION: Ensure converter does not become detached from gearbox.
38. Fit retaining strap to converter and secure with 2 nuts and bolts.
Refit
39. Clean mating faces of engine and gearbox, dowel and dowel holes.
40. Ensure drive plate and converter mating faces are clean.
41. Remove 2 nuts and bolts and remove converter retaining strap.
42. With assistance, fit transmission assembly to engine.
43. Fit crash bracket to gearbox flange and fit and tighten engine to gearbox bolts to 46 Nm (34 ft. lbs.).
44. Align drive plate to converter and tighten bolts to 50 Nm (37 ft. lbs.).
45. Fit access plug.
46. Fit new gasket and lower access cover. Secure cover with bolts.
47. Clean gearbox fluid cooler pipe unions, fit new O-rings and tighten union nuts to 30 Nm (22 ft. lbs.).
48. Clean breather pipe bolts and banjos, fit new sealing washers and tighten bolts to 15 Nm (11 ft. lbs.).
49. Fit gearbox fluid cooler pipe clamp and secure with bolt.
50. Align fuel and purge pipe brackets to gearbox and transfer box and secure with 2 bolts and 1 clip.
51. Connect multiplugs to output shaft speed sensor and High/Low motor.
52. Connect Lucars to transfer box temperature sensor.
53. Connect multiplugs to gearbox selection position switch and gearbox speed sensor.
54. Secure harness to clips.
55. Align harness support bracket and gear selector cable abutment bracket to gearbox and secure with bolts.
56. Connect gear selector cable trunnion to lever and fit split pin.
57. Adjust gear selector cable.
58. Raise gearbox on transmission jack.
59. Fit and engage handbrake cable grommet in transmission tunnel.
60. Clean propeller shaft and transfer box flanges.
61. Fit shafts to transfer box flanges, align marks and tighten nuts to 48 Nm (35 ft. lbs.).
62. Fit rear propeller shaft guard and secure with bolts.
63. Position transmission jack under brake drum.
64. Remove 4 bolts securing LRT-99-007 to transmission and remove support.
65. Fit transmission mounting assembly and tighten bolts to 44 Nm (33 ft. lbs.).
66. Diesel models: Fit chassis crossmember.
67. Petrol models: Fit exhaust front pipe.
68. Connect handbrake cable to lever, fit clevis pin and secure pin with clip.
69. Fit window switch pack.
70. Diesel models: Fit starter motor.
71. Petrol models: Fit engine RH lifting eye, align earth strap and secure with bolts.
72. Petrol models: Fit cooling fan cowl and secure with clips.
73. Connect battery earth lead.
74. Fit and secure battery cover.
75. Fill transfer box with oil.