Curiosii for ever!: Car repair manuals for everyone.

Flexible Pipes and Hoses




General
When removing and installing flexible hydraulic pipes and hoses, ensure that the following practices are observed to ensure component serviceability.
- Before removing any brake or power steering hose, clean end fittings and area surrounding them as thoroughly as possible.
- Obtain appropriate plugs or caps before detaching hose end fittings, so that the ports can be immediately covered to prevent the ingress of dirt.
- Clean hose externally and blow through with airline. Examine carefully for cracks, separation of plies, security of end fittings and external damage. Reject any faulty hoses.
- When refitting a hose, ensure that no unnecessary bends are introduced, and that hose is not twisted before or during tightening of union nuts.
- Fit a cap to seal a hydraulic union and a plug to its socket after removal to prevent ingress of dirt.
- Absolute cleanliness must be observed with hydraulic components at all times.
- After any work on hydraulic systems, carefully inspect for leaks underneath the vehicle while a second operator applies maximum brake pressure to the brakes (engine running) and operates the steering.

Fuel system hoses







All fuel hoses are made up of two laminations, an armoured rubber outer sleeve and an inner viton core. If any of the fuel system hoses have been disconnected, it is imperative that the internal bore is inspected to ensure that the viton lining has not become separated from the armoured outer sleeve. A new hose must be fitted if separation is evident.

Cooling system hoses
The following precautions MUST be followed to ensure that integrity of cooling hoses and their connections to system components are maintained.


Hose orientation and connection







Correct orientation of cooling hoses is important in ensuring that the hose does not become fatigued or damaged through contact with adjacent components. Where 'timing' marks (2) are provided on the hose and corresponding connection, these must be used to ensure correct orientation. Hoses must be pushed fully onto their connection points. Usually, a moulded form (3) on the stub pipe provides a positive indicator.

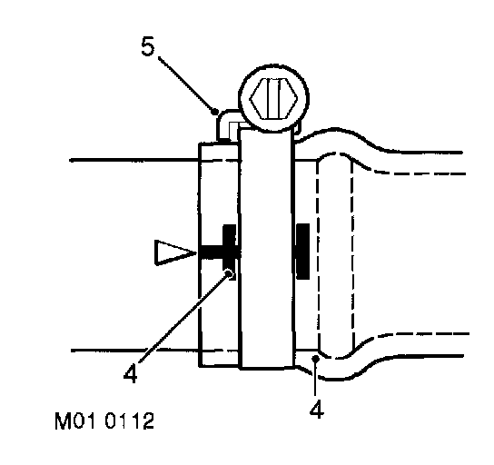
Hose clips







Markings (4) are usually provided on the hose to indicate the correct clip position. If no markings are provided, position the clip directly behind the retaining lip at the end of the stub as shown. Worm drive clips should be oriented with the crimped side of the drive housing (5) facing towards the end of the hose, or the hose may become pinched between the clip and the stub pipe retaining lip. Worm drive clips should be tightened to 3 Nm (2 lbf.ft) unless otherwise stated. Ensure that hose clips do not foul adjacent components.

Heat protection
Always ensure that heatshields and protective sheathing are in good condition. Replace if damage is evident. Particular care must be taken when routing hoses close to hot engine components, such as the exhaust manifold and the Exhaust Gas Recirculation (EGR) pipe. Hoses will relax and deflect slightly when hot; ensure this movement is taken into account when routing and securing hoses.