Curiosii for ever!: Car repair manuals for everyone.

Blower Motor: Service and Repair



Blower Motor Replacement


Service repair no - 80.20.15

Remove
1. Remove glove box assembly.
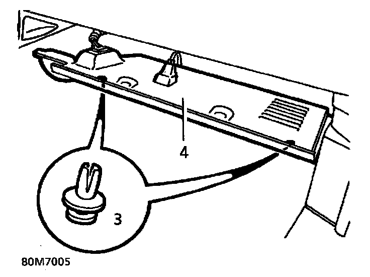
2. Release 2 clips securing fascia harness trunking to fascia frame.







3. Remove centre screws from 4 scrivet fasteners securing drivers side lower closing panel.







4. Release panel for access to harness clip. Collect outer parts of fasteners from closing panel.
5. Remove upper fascia closing panel.
6. Release clip securing harness trunking to fascia frame.







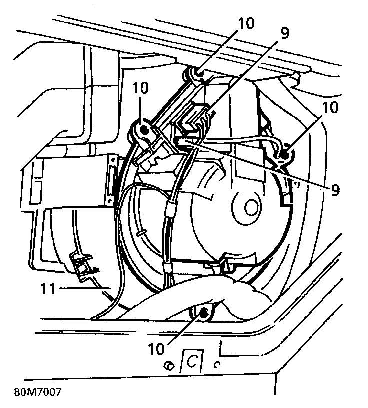
7. Remove 2 bolts securing cruise control ECU bracket to fascia frame. Place bracket aside.
8. Release SRS harness connector from bracket. Position harness aside.
9. Disconnect Lucar connector and multiplug from blower motor.







10. Remove 4 screws securing blower motor to casing.
11. Remove motor and fan assembly. Do not stress fascia harness.

Refit
12. Reverse removal procedure.