Curiosii for ever!: Car repair manuals for everyone.

SRS System Components Description



SRS Diagnostic and Control Unit (DCU)

The SRS DCU controls the operation of the supplementary restraint Systems by using collision detection sensors to determine the incidence of a crash event. There are two basic types of system utilised:
- Single point sensed SRS system
- Distributed SRS system

Both systems utilise the same basic DCU, but the distributed system also features additional front crash sensors mounted external to the DCU. The type of system configuration used is dependent on the relative market requirements.

The DCU is fitted to the centre console bracket underneath the console storage bin and mounted to the bracket by three Torx bolts. The unit is connected to ground via a dedicated earth eyelet located under the centre console next to the DCU and attached to the mounting bracket by a Torx bolt.

A yellow 50-pin connector provides the SRS DCU connection with the vehicle harness on models from 99MY onwards.

The DCU can sense crash events to the vehicle, monitored via internal accelerometers. The acceleration data is electronically processed by an internal microprocessor controller to determine the severity of the crash condition. The DCU is able to use the input data to distinguish between a severe crash situation and a minor impact or rough road conditions and so prevent spurious deployment.

An electromechanical safing sensor is incorporated into the DCU which is a normally open switch, but closes at a preset deceleration limit. Electronic switches for each of the squibs are activated if the severity of the crash condition exceeds a pre-determined trigger value.


CAUTION: It is important that the DCU is correctly mounted and is fitted in the designated location and orientation.


MAIN SENSOR
The main sensor is a deceleration detection device which is contained in the DCU. The sensor consists of a spring and weight system which is attached to strain guages in a Wheatsone bridge circuit. The 'balance' nodes of the bridge circuit is connected to an integrated circuit that can instantly detect a change in the monitored resistance.

In the event of a collision, the spring and weight move causing a corresponding change in the resistance of the related strain gauge. If the change in strain guage resistance is greater than a preset value, it corresponds to a crash condition of sufficient severity to warrant SRS component deployment. In this case, the processor provides a signal to initiate airbag and/or seatbelt pre-tensioner deployment. Deployment will only be carried out if a confirmation signal that a crash condition is occurring is received by the SRS DCU. Crash condition confirmation is achieved by simultaneous actuation of the safing sensor and/or one or more of the front crash sensors in the case of a distributed system.

SAFING SENSOR
This sensor is also contained within the DCU and is included in the DCU internal circuitry to prevent unintentional detonation of SRS components. The safing sensor is connected in series with the main sensor and operates at comparitively lower rates of deceleration. When the safing sensor closes in conjunction with the main sensor exceeding the trigger value, the electronic switches are activated, allowing electrical current to be supplied to the driver and passenger airbag squibs.

The side airbag modules are controlled by electronic switching and the safing sensor acts as an arming sensor for the seatbelt pre-tensioners.

SINGLE POINT SENSED SYSTEM
This system relies on the DCU's internal deceleration sensor and safing sensor to provide the control inputs required to confirm activation conditions for SRS component deployment.

DISTRIBUTED SRS SYSTEM
The DCU used for the distributed SRS system is identical to the single point system, with the exception that two external front crash sensors provide additional inputs to the unit for determining and confirming a crash condition in conjunction with the DCU's internal accelerometer.

DCU monitoring
When the ignition switch is turned to position 'II', the DCU monitors the readiness of the SRS components during the power-up phase and continues monitoring during the complete ignition cycle. The DCU monitors the status of the following components:
- Accelerometers
- Safing sensor
- Microprocessor
- Front airbags
- Side airbags (from 99MY)
- Seatbelt pre-tensioners (from 99MY)
- Front crash sensors (distributed systems only)
- SRS warning lamps

If a system or component fault is detected, the SRS lamps are illuminated.

Power supply and back-up
The ignition power feed provides a positive voltage supply to the SRS DCU and the SRS warning lamps via a dedicated system fuse located in the engine compartment fusebox. In the event of power supply failure, check the condition of the fuse and the connection between the Main and Fascia harnesses located on the lower right hand side 'A' post.

The DCU incorporates capacitors which store enough electrical charge to ensure the system will continue to function for a short period of time in the event that the normal power supply is disconnected during a collision. If the power supply is disconnected, the capacitors store enough charge to enable operation of the triggering device and firing circuitry.


SRS DCU Pin-outs (from 99MY):






WARNING: Never use multimeters or other general test equipment on SRS components or connectors.


Front Crash Sensors (distributed Systems Only):






The front crash sensors are located behind each headlamp in the engine compartment. The sensors are provided in a yellow, plastic encapsulated housing with an integral mounting bracket for attaching the units to the vehicle body. A yellow 3-pin connector connects each impact sensor to the main harness and an additional 4-way orange connector interfaces between the main harness and the fascia harness and is located on the lower left hand 'A' post. In the event of a crash sensor fault being detected by the diagnostics system, the connection between the fascia and main harnesses should be checked.

The sensors must be fitted in the correct orientation; an arrow is moulded into the upper surface of the housing to indicate the end of the sensor which must face the front of the vehicle. Each sensor is attached to the vehicle body by two Torx bolts. It is important to ensure the crash sensors are mounted correctly.

The internal components of the crash sensor consist of a weighted roller with a spring contact around it. Under deceleration, the roller unwinds the spring until a contact is made to provide a short circuit input to the DCU. This signal indicates that a rapid deceleration has been detected such as that which would be experienced during a frontal collision.

Driver and passenger front airbag modules
The driver's front airbag module is located in the steering wheel and the passenger front airbag is located above the glovebox, within the fascia directly in front of the passenger seat. Both driver and passenger front airbags are activated by a control signal from the SRS DCU in the event of a frontal collision. The modules house a folded nylon fabric bag, the gas generant capsules and an igniter squib.

When a severe frontal impact is detected by the DCU, electronic switches are closed causing a small electrical current to be applied to the igniter squib. The igniter is activated to produce heat and cause the gas pellets to generate nitrogen gas which quickly inflates the nylon bag.


NOTE: Driver and passenger front airbag modules must be replaced at 10 year intervals.


Driver's Airbag Module:






The driver's airbag module is attached to the steering wheel by four captive bolts. Electrical connection to the SRS DCU is provided via the rotary coupler.







When a deployment signal has been received at the airbag module, the squib initiates combustion of the igniter charge. The igniter charge burns rapidly and produces sufficient heat to cause the gas generant pellets to burn and so produce a large quantity of nitrogen gas which is routed to the folded nylon airbag. The force of the inflating airbag causes the steering wheel polyurethane centre pad to split at deliberately weakened break points, and expands to form a protective cushion between the driver and the steering wheel windscreen.

The fully inflated airbag has a capacity of 4.5 litres. Once the airbag is fully inflated, vents in the airbag prevent further pressure build-up, so that progressive deceleration is provided as the driver contacts the cushion.


Passenger Front Airbag Module:











The front passenger airbag module is mounted to the fascia by way of four bolts. A link lead connects the module to the fascia harness, with a red multiplug connector located on the bracket behind the glove box.

When an activation signal is received by the passenger airbag squib, the activated igniter produces heat causing the gas pellets to generate nitrogen gas which fills the airbag. The force of the inflating airbag breaks the specially weakened break lines in the polyurethane cover. Once free of the module, the nylon bag inflates to its full extent to provide a protective cushion between the front seat passenger and the fascia / windscreen.

When the bag is fully inflated, vents in the airbag prevent further pressure build-up so that progressive deceleration is provided as the occupant contacts the cushion.


Side Airbag Modules:






The driver and passenger side airbags are mounted to the squab seat frame. The modules are handed (i.e. a right hand module must be fitted to a RH seat and a left hand module must be fitted to a LH seat). The side airbags are activated by a control signal from the SRS DCU in the event of a side impact or a front angled impact of sufficient severity to cause both front and side airbag deployment.

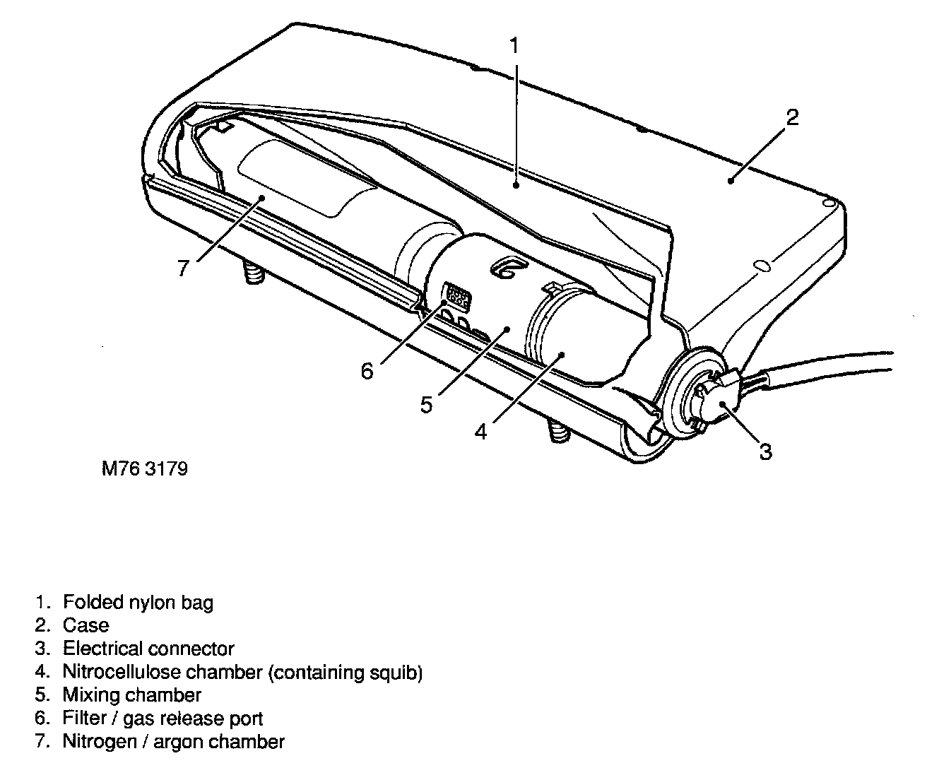
The side airbag module is a moulded plastic case which houses a folded nylon fabric bag, the gas generant capsules and an igniter squib. The rear of the side airbag module features two studs which are used for mounting the module to the seat frame and are secured in position by two nylock nuts. The back of the module also has moulded plastic location lugs, which are offset to ensure that only the correct handed module is fitted to the relevant seat.


WARNING: If the location lugs on the back of the module casing are damaged or missing, the module should not be used. Dispose of using the controlled procedures detailed in this manual.


WARNING: If a new side airbag module shows any sign of damage, DO NOT USE.


The side airbag modules have a flying lead which terminates in a yellow 2-pin connector. The connector connects to the DCU via the main harness and is located beneath the seat cushion.


CAUTION: Do not try to remove the connector at the module end, it is a permanent connection.







When a severe side impact is detected by the DCU, electronic switches are closed causing a small electrical current to be supplied to the igniter squib in the airbag on the side of the vehicle affected by the impact. The activated igniter charge produces heat causing the 3g of nitrocellulose to ignite and generate nitrogen gas. The pressure of the expanding gas from the nitrocellulose chamber punctures the port of the nitrogen/argon gas chamber. The gas released from the nitrogen/argon chamber is then mixed with the gas from the nitrocellulose chamber in the central mixing chamber. The resulting nitrogen gas escapes from holes in the mixing chamber to rapidly fill the nylon bag. The force of the inflating bag, forces the module casing to split open and deploy the airbag through the seat seam at the piping line.

The module is mounted at the outboard side bolster seam of the seat squab, and the expanding airbag initiates a seam thread failure in a designed and controlled manner. Once free of the module housing and seat cover, the nylon bag inflates to its full extent, pushing the seat occupant away from the side of the vehicle suffering the impact. When the bag is fully inflated, vents in the airbag prevent further pressure build-up and when the gas generation is exhausted, the airbag begins to deflate. The side airbag has a capacity of 12 litres.


NOTE: Side airbag modules must be replaced at 15 year intervals.


NOTE: The front doors contain side impact beams to help reduce intrusion of the impact object and give additional protection to the front seat occupants.



Seatbelt Pre-tensioners:






During a frontal collision, the seat belt pre-tensioners tighten the front seat belts to ensure the occupants are securely held in their seats. The pre-tensioner units are located with the seat belt inertia reel assembly located at the bottom of the 'B' post.

The seatbelt pre-tensioners are activated by a control signal from the SRS DCU in the event of a frontal collision. The two pre-tensioners are handed, but are otherwise identical. Each of the pre-tensioner units is fitted with an igniter and a propellant generator which acts on a rotor which is attached to the seatbelt inertia reel.

When a severe frontal impact is detected by the DCU, electronic switches are closed causing a small electrical current to be applied to the igniter squib. The igniter is activated to produce heat and cause the gas capsules to generate a propellant which forces a piston up the cylinder. The piston draws a rack and pinion mechanism which pulls back the seatbelt inertia reel to hold the occupant securely in the seat in a position suitable for airbag deployment. When the rotor reaches the extent of its travel, excess propellant is ejected to atmosphere via a port in the top of the propellant tube.


WARNING: Once the pre-tensioner has been operated, it cannot be reset. The pinion locking pin will have been broken and the gas generant will be exhausted. The unit must be replaced.


Each pre-tensioner unit has a flying lead which terminates in a yellow 2-pin connector that connects to the DCU through the main harness. The pre-tensioner to main harness connector is located below the lower 'B' post finisher.


Rotary Coupler:






The rotary coupler is installed on the steering column, behind the steering wheel to provide the electrical interface between the fixed wiring harness and the moveable driver airbag module. In addition to the wiring for the driver airbag, the rotary coupler also provides the wiring for other electrical functions built into the steering wheel area, these may include:
- ICE system control switches
- Cruise control system switches
- Horn switches

A rotating link harness is encapsulated into a plastic cassette comprising outer and inner housings with integral connectors. The cassette contains a flat ribbon type flexible cable with seven wires (not all the wires are utilised on all vehicle derivatives). The rear of the rotary coupler features two clips which align to mating holes within the steering column die cast bracket. The inner housing can turn a maximum of 4.2 revolutions in relation to the outer housing.

The rotary coupler connects the fascia harness to the driver's airbag module via a 2-way red connector located below the steering column cowl.