Curiosii for ever!: Car repair manuals for everyone.

Ignition Coil: Service and Repair




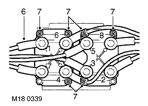
Service repair no - 18.20.45

Remove
1. Remove upper inlet manifold gasket.







2. Remove 2 lower coil fixing bolts.
3. Disconnect multiplugs from coils.







4. Release HT leads from rocker covers and disconnect HT leads from plugs.
5. Carefully manoeuvre coil assembly from between engine and bulkhead.







6. Noting their fitted position disconnect HT leads from coils.
7. Remove 6 screws securing coils to support bracket and remove coils.

Refit
8. Position coils to support bracket, fit and tighten screws.
9. Connect HT leads to coils ensuring they are in the correct position.
10. Carefully position coil assembly between engine and bulkhead.
11. Connect HT leads to plugs and secure HT lead to rocker covers.
12. Connect multiplugs to coils.
13. Fit 2 lower coil fixing bolts but do not tighten at this stage.
14. Fit upper inlet manifold gasket.