Curiosii for ever!: Car repair manuals for everyone.

Heater Assembly - Models With Air Conditioning


Heater Assembly - Models With Air Conditioning

Service Repair No - 80.20.01.98

Remove

1. Drain cooling system.
2. Evacuate air conditioning system.







3. Release 2 clips securing heater hoses to heater and release hoses.
4. Remove 2 bolts securing air conditioning pipes to evaporator, release pipes and discard '0' rings.

CAUTION: Always fit plugs to open connections to prevent contamination.

5. Remove fascia.







6. Remove screws securing rear heater dueling and remove dueling.







7. Disconnect multiplug from heater motor.
8. Remove 2 nuts and bolt securing heater motor assembly and remove motor assembly from heater casing.







9. Remove 2 screws securing center console support bracket and remove bracket.










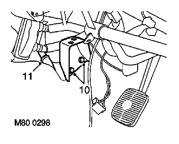
10. Remove 2 nuts securing RH fascia support bracket and remove bracket.
11. Disconnect both evaporator drain hoses.
12. Remove front heater dueling.
13. Remove 4 nuts and bolt securing heater assembly, release heater assembly from bulkhead grommet and remove from vehicle.

Refit

1. Position heater assembly to bulkhead, locate heater in bulkhead grommet.
2. Fit nuts and bolt securing heater and tighten to 16 Nm (12 ft. lbs.).
3. Position RH fascia support bracket, fit and tighten nuts.
4. Fit front heater dueling.
5. Position center console support bracket, fit and tighten screws.
6. Connect evaporator drain hoses.
7. Position heater motor to heater casing, fit nuts and bolt and tighten to 19 Nm (14 ft. lbs.).
8. Connect multiplug heater motor.
9. Position rear heater dueling and secure with screws.
10. Fit fascia.
11. Using new '0' rings, position air conditioning pipes to evaporator fit bolts and tighten to 5 Nm (3.7 ft. lbs.).
12. Position heater hoses and secure hose clips.
13. Recharge air conditioning system.
14. Refill cooling system.