Curiosii for ever!: Car repair manuals for everyone.

Electronic Brake Control Module: Service and Repair

ABS ECU:






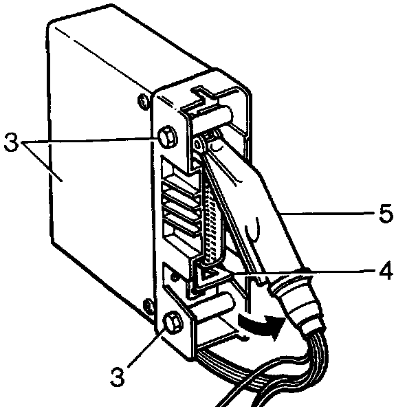
NOTE: Numbers in parentheses ( ) refer to numbers in illustration.

REMOVAL
1. Disconnect battery negative lead.
2. Remove retaining bolt and lower Electronic Control Unit (ECU) and relay mounting bracket into passenger footwell.
3. Remove two screws (3) and detach ECU, complete with harness plug from mounting bracket.
4. Release ECU plug retaining clip (4).
5. Move plug (5) in direction of arrow and release hooked end of plug from retaining post.

INSTALLATION
1. Reconnect ECU harness plug (5), ensuring that it is firmly located and retaining clip (4) secures plug.
2. Reverse removal procedure to complete installation.