Curiosii for ever!: Car repair manuals for everyone.

Brake Switch (Cruise Control): Service and Repair


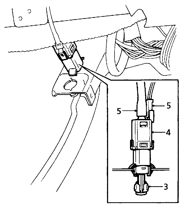
Brake Switch (Cruise Control)


Remove





1. Remove 3 studs securing driver's side fascia closing panel.
2. Release and move closing panel aside.





3. Locate and release locking sleeve.
4. Release switch/vent valve from pedal bracket.
5. Disconnect vacuum hose and harness connector from switch.
6. Remove switch.

Refit
7. Reverse removal procedure.


NOTE: Ensure locking sleeve is correctly positioned.