Curiosii for ever!: Car repair manuals for everyone.

Windshield: Service and Repair


Windscreen Glass

Service Repair No - 76.81.01


Information
The following equipment is required:
Cutting wire and handles
Windscreen repair kit - See Technical Bulletin.
Sealant applicator gun
Suction cup lifters

The following materials are included in the windscreen repair kit:
Glass cleaning solvent - 'Betawipe' Glass activator (yellow cap)
Cotton buds.
Glass primer - 'Betaprime' (green cap)
Body primer - 'Betaprime' paint/plastic primer (red cap)
Betaseal Adhesive sealant

NOTE: The adhesive sealant cures in 6 to 8 hours

CAUTION: Once existing sealant is cut, the exposed surfaces oxidises in approximately 90 minutes. The refit procedure must be completed within this time span to prevent the sealant oxidising, to effect a satisfactory joint.

CAUTION: If the windscreen aperture body flange shows signs of corrosion it must be treated with anti corrosion primer and repainted. Newly painted areas must then be left for 8 hours or more before applying adhesive sealant.

NOTE: If heated front screen: 2 electrical multiplug connectors are located under the decker [cowl] panel. To access release decker panel.

Remove
1. Remove windscreen wiper arms.
2. Remove rear view mirror and stickers from glass.
3. Remove 'A' post finishers.
4. Fit protective cover over dash panel and apply masking tape to protect 'A' posts.





5. Ease one end of bottom finisher away from glass, pull to disengage finisher flange and remove.
6. Lift lip of LH 'A' post finisher and release sealing strip along its length, pull to disengage finisher flange from glass and remove.
7. Remove RH 'A' post finisher.
8. Remove header finisher.
9. Apply masking tape to protect paint finish around glass.





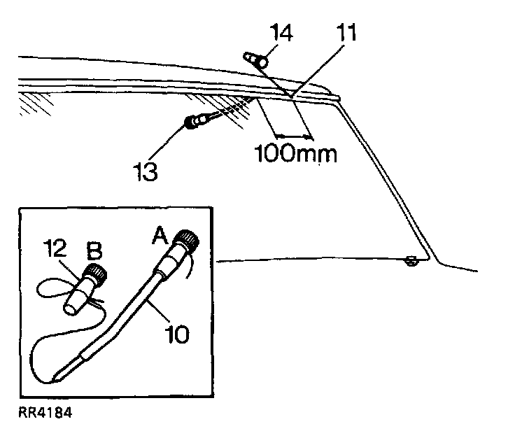
10. Prepare cutting wire in handle 'A'. Bend end of wire to handle and tape over end.
11. Force cutting wire through sealer from inside and 100 mm from a top corner. Use a needle if necessary to make a pilot hole.
12. Attach handle 'B'. Allow 200 mm of wire between handles, tape over end of wire.
13. With an assistant on the inside: Wedge the tube of the handle 'A' between glass and body flange 100 mm ahead of hole in sealer.
14. From the outside: Carefully cut sealer from flange using a straight pull away from the glass. Continue in 100 mm steps around the glass, use a sawing action at the corners.

CAUTION: Along the bottom edge, great care must be taken to cut up to the 2 supports, positions indicated on the obscuration band (See item 18 in the image below).

15. Remove handle 'B', withdraw the cutting wire and insert it through the sealer between the supports. Refit handle 'B'.





16. Cut through sealer between the supports. It heated front screen: Cut through the 2 wires each side of the supports. Tape cut wires and panels to prevent damage to bodywork when screen is removed.
17. Attach suction cups to glass and lift glass from body flange, cut sealer free around supports as necessary.

WARNING: If glass has splintered: Protect eyes and operate demister blower at maximum speed to remove any glass from ducts. Use a vacuum cleaner to remove glass particles from inside the vehicle.

Refit
18. Check condition of supports, renew if necessary. Locating studs must be at right angle to flange.

NOTE: The supports were fitted to early vehicles and now replaced with nylon sheaths.

19. Carefully cut back old sealant around body flange to obtain a smooth surface 2 mm thick. DO NOT cut down to flange.
20. If refitting original glass: It must be free from chips or cracks. Cut back old sealant around glass to obtain a smooth surface 2 mm thick. DO NOT cut down to glass surface.

CAUTION: Lay glass on felt covered supports, do not stand on edge. Any chipping of glass edge may develop into cracks.





21. Align header finisher on top edge of glass, push flange fully onto glass and use a wooden block and mallet to ensure fit.
22. Carefully align each side finisher on edge of glass, push flange fully onto glass and use a wooden block and mallet to ensure fit.





23. Using a cotton bud, apply glass cleaning solvent (yellow cap) to inside face of glass, 20 mm strip around inside of finishers and 30 mm wide along bottom edge. Immediately wipe oft solvent with a clean cloth.

CAUTION: Do not touch cleaned or primed surfaces with fingers.





24. Ensure body flanges and surfaces covered by the finishers are clean
25. Shake the primer container for at least 30 seconds.





26. Using a cotton bud, apply Glass Primer (green cap) to inside face of glass, 20 mm strip around inside of finishers and 30 mm wide along bottom edge. This must be touch dry before applying adhesive.
27. Remove protective coverings and tape.
28. Pierce top and pre-cut nozzle to sealer cartridge, remove lid and shake out crystals and install cartridge in applicator gun.





29. Apply a continuous bead of adhesive sealant around the glass as shown. Vertical edge of sealer to abutt finishers and to be 8 mm from bottom edge of glass.
30. Remove protective covering (RED) from side finisher sealing strip.





31. With assistance: Attach suction cups to glass and lift into position, carefully align the indicators on the obscuration band with the supports. Lower screen onto body flange, check alignment and firmly press to seat glass in the aperture.

NOTE: The finisher on later vehicles will not have cutouts, or supports fitted, as shown.

32. Align cut outs with the supports and push finisher fully onto the glass. Use a wooden block to ensure fit.
33. Refit 'A' post finishers and interior mirror.
34. Refit wiper arms.