Curiosii for ever!: Car repair manuals for everyone.

Alternator: Testing and Inspection

NOTE: For testing of individual alternator components, refer to Alternator / Service and Repair / Overhaul. Overhaul


Charging System Check
1. Check the battery is in good condition, with an open circuit voltage of at least 12.6 V. Recharge or fit a charged substitute battery to carry out test.
2. Check drive belt adjustment and condition. Rectify as necessary.
3. Check battery connections are clean and tight.
4. Check alternator connections are clean and tight.
5. Ensure that there is no continuous drain on battery due, for example, to interior, underhood or door edge lamps being left on.

NOTE: The following instructions refer to the use of suitable test equipment using a carbon pile rheostat.

6. Connect test equipment referring to the manufacturer's instructions.
7. Start engine and run at 3000 rev/min without accessory load.
8. Rotate the carbon pile load control to achieve the greatest output (amps) without allowing voltage to fall below 12.0 V. A reading of 80 amps, minus 10% to allow for EFI and ignition loss, should be obtained.
9. Run engine at 3000 rev/min, switch selector to regulator test, read voltmeter. A reading of 13.6 to 14.4 V should be obtained.
10. Switch selector to diode/stator test, switch on headlamps to load alternator. Raise engine speed to 3000 rev/min, read voltmeter. The needle must be within the OK range.

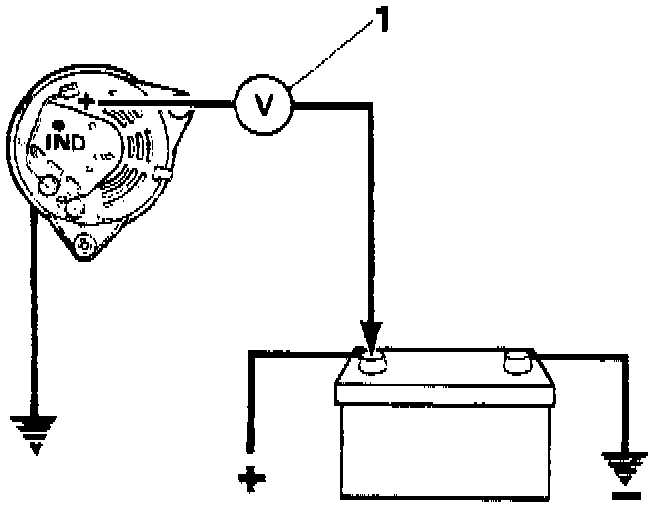
Charging Circuit Resistance Test

Circuit Testing:





1. Connect a low range voltmeter between the alternator terminal marked + and the positive terminal of the battery.
2. Switch on the headlamps and start the engine. Set the throttle to run at approximately 3000rev/min. Note the voltmeter reading.

Circuit Testing:





3. Transfer the voltmeter connections to the frame of the alternator and the negative terminal of the battery, and again note the voltmeter reading.
4. If the reading exceeds 0.5 V on the positive side or 0.25 V on the negative side, there is a high resistance in the charging circuit which must be traced and remedied.