Curiosii for ever!: Car repair manuals for everyone.

Sunroof / Moonroof

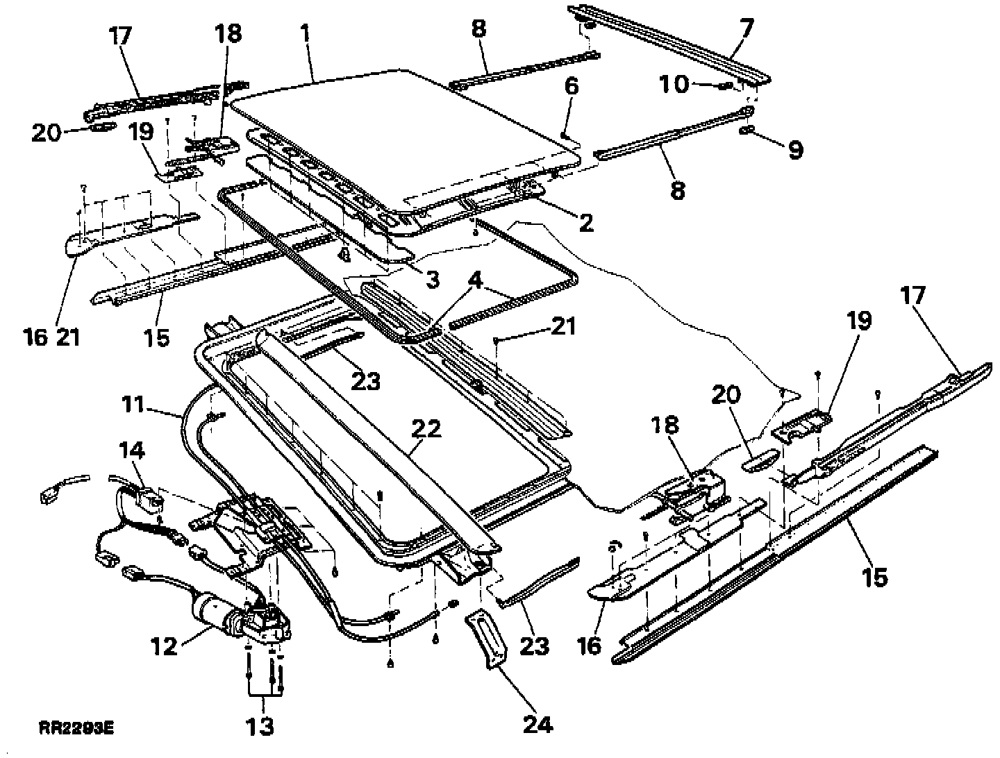
Sunroof Components:





1. Roof panel
2. Sunroof headliner
3. Insulation pad
4. Roof seals (front and rear)
5. Sunroof headliner retaining clips (quantity - 6)
6. Roof panel retaining screws (quantity - 6)
7. Water channel
8. Water channel connectors
9. Support bracket-water channel
10. Slide shoe-water channel
11. Motor bracket/guide tube assembly
12. Operating motor
13. Motor retaining screws
14. Relay
15. Lower guide rails
16. Front guide rails
17. Slide mechanism
18. Rear guide
19. Pivot bracket
20. Slide shoe
21. Rear edge trim finisher
22. Wind deflector assembly
23. Wind deflector operating arms
24. Support bracket (quantity - 6)