Curiosii for ever!: Car repair manuals for everyone.

CVVT (Continuously Variable Valve Timing) System





Description

[2.4 DOHC]
Continuous Variable Valve Timing (CVVT) system advances or retards the valve timing of the intake and exhaust valve in accordance with the PCM control signal which is calculated by the engine speed and load.
By controlling CVVT, the valve over-lap or under-lap occurs, which makes better fuel economy and reduces exhaust gases (NOx, HC). CVVT improves engine performance through reduction of pump loss, internal EGR effect, improvement of combustion stability, improvement of volumetric efficiency, and increase of expansion work.
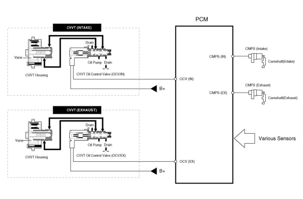
This system consist of
- the CVVT Oil Control Valve (OCV) which supplies the engine oil to the cam phaser or runs out the engine oil from the cam phaser in accordance with the PCM PWM (Pulse With Modulation) control signal,
- the CVVT Oil Temperature Sensor (OTS) which measures the engine oil temperature,
- and the Cam Phaser which varies the cam phase by using the hydraulic force of the engine oil.
The engine oil getting out of the CVVT oil control valve varies the cam phase in the direction (Intake Advance/Exhaust Retard) or opposite direction (Intake Retard/Exhaust Advance) of the engine rotation by rotating the rotor connected with the camshaft inside the cam phaser.




[2.7 V6]




The CVVT (Continuously Variable Valve Timing) which is installed on the exhaust camshaft controls intake valve open and close timing in order to improve engine performance.
The intake valve timing is optimized by CVVT system depending on engine rpm.
This CVVT system improves fuel efficiency and reduces NOx emissions at all levels of engine speed, vehicle speed, and engine load by EGR effect because of valve over-lap optimization.
The CVVT changes the phase of the intake camshaft via oil pressure.
It changes the intake valve timing continuously.






Operation Principle

[2.4 DOHC]
The CVVT has the mechanism rotating the rotor vane with hydraulic force generated by the engine oil supplied to the advance or retard chamber in accordance with the CVVT oil control valve control.




[CVVT System Mode]














[2.7 V6]
The CVVT system makes continuous intake valve timing changes based on operating conditions.
Intake valve timing is optimized to allow the engine to produce maximum power.
Cam angle is advanced to obtain the EGR effect and reduce pumping loss. The intake valve is closed quickly to reduce the entry of the air/fuel mixture into the intake port and improve the changing effect.
Reduces the cam advance at idle, stabilizes combustion, and reduces engine speed.
If a malfunction occurs, the CVVT system control is disabled and the valve timing is fixed at the fully retarded position.




1. The above figure shows the relative operation structures of the housing vane to the rotor vane.
2. If the CVVT is held a certain control angle, to hold this state, oil is replenished as much as oil leaks from the oil pump.
The OCV (Oil-flow Control Valve) spool location at this time is as follows.
Oil pump -> Advance oil chamber (Little by little open the inflow side to the advance oil chamber) -> Almost close the drain side
Note that a difference may exist in the position according to the engine running state (rpm, oil temperature, and oil pressure).