Curiosii for ever!: Car repair manuals for everyone.

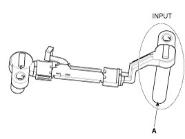
Input Speed Sensor





Description

Input speed sensor (A) is a vital unit that measures the rate of rotation of the input shaft inside the transaxle and delivers the readings to the TCM. The sensor provides critical input data that's used in feedback control, damper clutch control, gear setting control, line pressure control, clutch activation pressure control, and sensor fault analysis.