Curiosii for ever!: Car repair manuals for everyone.

Disassembly





Disassembly

Engine removal is required for this procedure.
1. M/T : Remove the fly wheel.
2. A/T : Remove the drive plate.
3. Install the engine to engine stand for disassembly.
4. Remove the timing chain.
5. Remove the cylinder head.
6. Remove the oil level gauge tube.
7. Remove the knock sensor(A) and the oil filter(B).




8. Remove the oil pressure switch(A).




9. Using the SST (09215-3C000), remove the oil pan (A).





CAUTION:
- Insert the SST between the oil pan and the ladder frame by tapping it with a plastic hammer in the direction of 1 arrow.
- After tapping the SST with a plastic hammer along the direction of 2 arrow around more than 2/3 edge of the oil pan, remove it from the ladder frame.
- Do not turn over the SST abruptly without tapping. It is result in damage of the SST.

10. Remove the oil screen(A).




11. Remove the rear oil seal(A).




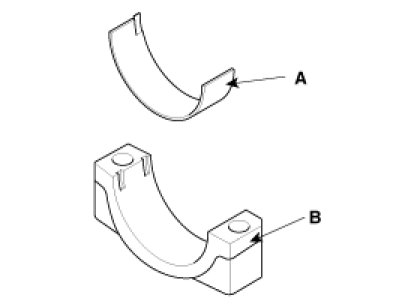
12. Remove the ladder frame(A).




13. Check the connecting rod end play.
14. Remove the connecting rod caps and check oil clearance.
15. Remove the piston and connecting rod assemblies.
(1) Using a ridge reamer, remove all the carbon from the top of the cylinder.
(2) Push the piston, connecting rod assembly and upper bearing through the top of the cylinder block.

NOTE:
- Keep the bearings, connecting rod and cap together.
- Arrange the piston and connecting rod assemblies in the correct order.

16. Remove the crankshaft bearing cap and check oil clearance.
17. Check the crankshaft end play.
18. Lift the crankshaft(A) out of the engine, being careful not to damage journals.

NOTE:
Arrange the main bearings and thrust bearings in the correct order.




19. Check fit between piston and piston pin.
Try to move the piston back and forth on the piston pin.
If any movement is felt, replace the piston and pin as a set.
20. Remove the piston rings.
(1) Using a piston ring expander, remove the 2 compression rings.
(2) Remove the 2 side rails and oil ring by hand.

NOTE:
Arrange the piston rings in the correct order only.

21. Remove the connecting rod from the piston.
Using a press, remove the piston pin from piston.
(Press-in load : 500 - 1,500kg(1,102 - 3,306lb))

Inspection

Connecting Rod And Crankshaft
1. Check the connecting rod end play.
Using feeler gauge, measure the end play while moving the connecting rod back and forth.

End play
Standard : 0.1 - 0.25mm (0.0039 - 0.0098in)
Maximum : 0.35mm (0.0138in)





A. If out-of-tolerance, install a new connecting rod.
B. If still out-of-tolerance, replace the crankshaft.
2. Check the connecting rod bearing oil clearance.
(1) Check the match marks on the connecting rod and cap are aligned to ensure correct reassembly.
(2) Remove the 2 connecting rod cap bolts.
(3) Remove the connecting rod cap and lower bearing.
(4) Clean the crankshaft pin journal and bearing.
(5) Place a Plasticgage across the crankshaft pin journal.
(6) Reinstall the lower bearing and cap, and tighten the bolts. Do not reuse the bolts.

Tightening torque :
17.7 - 21.6N.m (1.8 - 2.2kgf.m, 13.0 - 15.9lb-ft) + 88 - 92°


NOTE:
Do not turn the crankshaft.

(7) Remove the 2bolts, connecting rod cap and lower bearing.
(8) Measure the plasticgage at its widest point.

Standard oil clearance
0.032 - 0.052mm (0.0013 - 0.0020in)





(9) If the measurement from the plasticgage is too wide or too narrow, remove the upper and lower bearing and then install a new bearings with the same color mark.
Recheck the oil clearance.

CAUTION:
Do not file, shim, of scrape the bearings or the caps to adjust clearance.

(10) If the plasticgage shows the clearance is still incorrect, try the next larger or smaller bearing.
Recheck the oil clearance.

NOTE:
If the proper clearance cannot be obtained by using the appropriate larger or smaller bearings, replace the crankshaft and restart over.

CAUTION:
If the marks are indecipherable because of an accumulation of dirt and dust, do not scrub them with a wire brush or scraper. Clean them only with solvent or detergent.

Connecting Rod Mark Location




Discrimination Of Connecting Rod






Crankshaft Pin Diameter Mark Location




Discrimination Of Crankshaft Pin Diameter






Connecting Rod Bearing Color Location




Discrimination Of Connecting Rod Bearing





(11) Select the bearing by using selection table.
Connecting Rod Bearing Selection Table





3. Check the connecting rods.
(1) When reinstalling, make sure that cylinder numbers put on the connecting rod and cap at disassembly match. When a new connecting rod is installed, make sure that the notches for holding the bearing in place are on the same side.
(2) Replace the connecting rod if it is damaged on the thrust faces at either end. Also if step wear or a severely rough surface of the inside diameter of the small end is apparent, the rod must be replaced as well.
(3) Using a connecting rod aligning tool, check the rod for bend and twist. If the measured value is close to the repair limit, correct the rod by a press. Any connecting rod that has been severely bent or distorted should be replaced.

Allowable bend of connecting rod :
0.05mm / 100mm (0.0020in / 3.94in ) or less
Allowable twist of connecting rod :
0.1mm / 100mm (0.0039in / 3.94in) or less


NOTE:
When the connecting rods installed without bearings, there should be no difference on side surface.

4. Check the crankshaft bearing oil clearance.
(1) To check main bearing-to-journal oil clearance, remove the main bearing caps and lower bearings.
(2) Clean each main journal and lower bearing with a clean shop towel.
(3) Place one strip of plasticgage across each main journal.
(4) Reinstall the lower bearings and caps, then tighten the bolts.

Tightening torque :
1st - 17.7 - 21.6N.m (1.8 - 2.2kgf.m, 13.0 - 15.9lb-ft)
2nd - 88° ~ 92°


NOTE:
Do not turn the crankshaft.

(5) Remove the cap and lower bearing again, and measure the widest part of the plasticgage.

Standard oil clearance :
No.1, 2, 3, 4, 5 : 0.021 - 0.042mm (0.0008 - 0.0017in)





(6) If the plasticgage measures too wide or too narrow, remove the upper and lower bearing and then install a new bearings with the same color mark. .
Recheck the oil clearance.

CAUTION:
Do not file, shim, or scrape the bearings or the cap to adjust clearance.

(7) If the plasticgage shows the clearance is still incorrect, try the next larger or smaller bearing. .
Recheck the oil clearance.

NOTE:
If the proper clearance cannot be obtained by using the appropriate larger or smaller bearings, replace the crankshaft and start over.

CAUTION:
If the marks are indecipherable because of an accumulation of dirt and dust, do not scrub them with a wire brush or scraper. Clean them only with solvent or detergent.

Cylinder block crankshaft journal bore mark location

Letters have been stamped on the side surface of the block as a mark for the size of each of the 5 main journal bores.

Use them, and the numbers or letters stamped on the crank (marks for main journal size), to choose the correct bearings.




Discrimination Of Cylinder Block Crankshaft Journal Bore






Crankshaft Main Journal Mark Location




Discrimination Of Crankshaft Main Journal






Crankshaft Main Bearing Color Location




Discrimination Of Crankshaft Main Bearing





(8) Select the bearing by using selection table.
Crankshaft Main Bearing Selection Table





5. Check the crankshaft end play.
Using a dial indicator, measure the thrust clearance while prying the crankshaft back and forth with a screwdriver.

End play
Standard: 0.05 - 0.25mm (0.0020 - 0.0098in)
Limit : 0.30mm (0.0118in)


If the end play is greater than maximum, replace the center bearing.

Cylinder Block
1. Remove the gasket material.
Using a gasket scraper, remove all the gasket material from the top surface of the cylinder block.
2. Clean the cylinder block
Using a soft brush and solvent, thoroughly clean the cylinder block.
3. Inspect the top surface of cylinder block for flatness.
Using a precision straight edge and feeler gauge, measure the surface contacting the cylinder head gasket for warpage.

Flatness of cylinder block gasket surface
Standard :
Less than 0.05mm (0.0020in)
Less than 0.02mm (0.0008in) - 100mm • 100mm





4. Inspect the cylinder bore.
Visually check the cylinder for vertical scratches.
If deep scratches are present, replace the cylinder block.
5. Inspect the cylinder bore diameter.
Using a cylinder bore gauge, measure the cylinder bore diameter at position in the thrust and axial direction.

Standard diameter :
77.00 - 77.03mm (3.0315 - 3.0327in)





6. Check the cylinder bore size code on the cylinder block side surface.




Discrimination Of Cylinder Bore Size





7. Check the piston size mark(A) on the piston top face.




Discrimination Of Piston Outer Diameter





8. Select the piston related to cylinder bore class.

Piston -to-cylinder clearance :
0.02 - 0.04mm (0.0008 - 0.0016in)


Piston And Piston Rings
1. Clean the piston.
(1) Using a gasket scraper, remove the carbon from the piston top.
(2) Using a groove cleaning tool or broken ring, clean the piston ring grooves.
(3) Using solvent and a brush, thoroughly clean the piston.

NOTE:
Do not use a wire brush.

2. The standard measurement of the piston outside diameter is taken 33.9mm(1.5697in) from top land of the piston.

Standard diameter :
76.97 - 77.00mm (3.0303 - 3.0315in)





3. Calculate the difference between the cylinder bore inner diameter and the piston outer diameter.

Piston-to-cylinder clearance :
0.02 - 0.04mm (0.0008 - 0.0016in)


4. Inspect the piston ring side clearance.
Using a feeler gauge, measure the clearance between new piston ring and the wall of ring groove.

Piston ring side clearance
No.1 ring : 0.03 - 0.07mm (0.0012 - 0.0028in)
No.2 ring : 0.03 - 0.07mm (0.0012 - 0.0028in)
Oil ring : 0.06 - 0.15mm (0.0024 - 0.0059in)
Limit
No.1 ring : 0.1mm (0.0039in)
No.2 ring : 0.1mm ( 0.0039in)
Oil ring : 0.2mm ( 0.0079in)





If the clearance is greater than maximum, replace the piston.
5. Inspect the piston ring end gap.
To measure the piston ring end gap, insert a piston ring into the cylinder bore. Position the ring at right angles to the cylinder wall by gently pressing it down with a piston. Measure the gap with a feeler gauge. If the gap exceeds the service limit, replace the piston rings. If the gap is too large, recheck the cylinder bore inner diameter. If the bore is over the service limit, the cylinder block must be rebored.

Piston ring end gap
Standard
No.1 ring : 0.14 - 0.28mm (0.0079 - 0.0138in)
No.2 ring : 0.30 - 0.45mm (0.0118 - 0.0177in)
Oil ring : 0.20 - 0.70mm(0.0079 - 0.0276in)
Limit
No.1 ring : 0.3mm(0.0118in)
No.2 ring : 0.5mm(0.0197in)
Oil ring : 0.8mm(0.0315in)






Piston Pins
1. Measure the outer diameter of piston pin

Piston pin diameter :
18.001 - 18.006mm (0.7087 - 0.7089in)





2. Measure the piston pin-to-piston clearance.

Piston pin-to-piston clearance :
0.010 - 0.020mm (0.0004 - 0.0008in)


3. Check the difference between the piston pin outer diameter and the connecting rod small end inner diameter.

Piston pin-to-connecting rod interference :
-0.032 ~ -0.016mm (-0.0013 ~ -0.0006in)


Oil Pressure Switch
1. Check the continuity between the terminal and the body with an ohmmeter. If there is no continuity, replace the oil pressure switch.




2. Check the continuity between the terminal and the body when the fine wire is pushed. If there is continuity even when the fine wire is pushed, replace the switch.




3. If there is no continuity when a 49.0kpa (0.5kg/cm2, 7.1psi) is applied through the oil hole, the switch is operating properly.
Check for air leakage. If air leaks, the diaphragm is broken. Replace it.

Reassembly

NOTE:
- Thoroughly clean all parts to assembled.
- Before installing the parts, apply fresh engine oil to all sliding and rotating surfaces.
- Replace all gaskets, O-rings and oil seals with new parts.

1. Assemble the piston and connecting rod.
(1) Use a hydraulic press for installation
(2) The piston front mark and the connecting rod front mark must face the timing chain side of the engine.




2. Install the piston rings.
(1) Install the oil ring expander and 2 side rails by hand.
(2) Using a piston ring expander, install the 2 compression rings with the code mark facing upward.
(3) Position the piston rings so that the ring ends are as shown.




3. Install the connecting rod bearings.
(1) Align the bearing(A) claw with the groove of the connecting rod or connecting rod cap(B).
(2) Install the bearings(A) in the connecting rod and connecting rod cap(B).




4. Install the crankshaft main bearings.

NOTE:
Upper bearings have an oil groove of oil holes ; Lower bearings do not.

(1) Align the bearing claw with the claw groove of the cylinder block, push in the five upper bearings(A).




(2) Align the bearing claw with the claw groove of the main bearing cap, and push in the 5 lower bearings.
5. Install the thrust bearing.
Install the thrust bearing(A) on the No.3 journal position of the cylinder block with the oil grooves facing outward.




6. Place the crankshaft on the cylinder block.
7. Place the main bearing caps on the cylinder block.
8. Install the main bearing cap bolts.

NOTE:
The main bearing cap bolts are tightened in 2 progressive steps.
If any of the bearing cap bolts in broken or deformed, replace it.

(1) Apply a light coat of engine oil on the threads and under the bearing cap bolts.
(2) Install and uniformly tighten the 10 bearing cap bolts, in several passes, in the sequence shown.

Tightening torque :
1st - 17.7 - 21.6N.m (1.8 - 2.2kgf.m, 13.0 - 15.9lb-ft)
2nd - 88° ~ 92°






CAUTION:
Do not reuse the main bearing cap bolts.

(3) Check that the crankshaft turns smoothly.
9. Check the crankshaft end play.
10. Install the piston and connecting rod assemblies.

NOTE:
Before installing the piston, apply a coat of engine oil to the ring grooves and cylinder bores.

(1) Install the ring compressor, check that the rings are securely in place, then position the piston in the cylinder, and tap it in using the wooden handle of a hammer.
(2) Stop after the ring compressor pops free, and check the connecting rod-to-crank journal alignment before pushing the piston into place.
(3) Install the rod caps with bearings, and tighten the bolts.(Do not reuse the bolts).

Tightening torque :
1st - 17.7 - 21.8N.m (1.8 - 2.2kgf.m, 13.0 - 15.9lb-ft)
2nd - 88° ~ 92°


11. Apply the sealant on the ladder frame.





NOTE:
- Apply the sealant, THREE-BOND 1217H or LOCTITE 5900H on the ladder frame rail portion and install it with in five minutes.
If when sealant is applied to cylinder block bottom position, sealant position to be same with position that is applied to ladder frame rail position.
- Apply sealant along the inner line of the bolt holes.

12. Install the ladder frame(A).

Tightening torque :
18.6 - 24.2N.m (1.9 - 2.4kgf.m, 13.7 - 17.4lb-ft)





13. Install the rear oil seal.
(1) Apply engine oil to a new oil seal lip.
(2) Using the SST(09231-H1100, 09231-2B200) and a hammer, tap in the oil seal until its surface is flush with the rear oil seal retainer edge.




14. Install the oil screen.
Install a new gasket and oil screen with 2 bolts.

Tightening torque :
19.6 - 26.5N.m (2.0 - 2.7kgf.m, 14.5 - 19.5lb-ft)





15. Install the oil pan.
(1) Using a razor blade and gasket scraper, remove all the old packing material from the gasket surfaces.

NOTE:
Check that the mating surfaces are clean and dry before applying liquid gasket.

(2) Apply liquid gasket with the width of Ø3mm, starting 1mm-away position from the inner rounding of the oil pan rail.

Liquid gasket :TB 1217H or LOCTITE 5900H






NOTE:
- To prevent leakage of oil, apply liquid gasket to the inner threads of the bolt holes.
- Do not install the parts if five minutes or more have elapsed since applying the liquid gasket.
Instead, reapply liquid gasket after removing the residue.
- After assembly, wait at least 30 minutes before filling the engine with oil.

(3) Install the oil pan(A) with the bolts.
Uniformly tighten the bolts in several passes.

Tightening torque :
9.8 - 11.8N.m (1.0 - 1.2kgf.m, 7.2 - 8.7lb-ft)





16. Install the oil pressure switch.
(1) Apply adhesive to 2 or 3 threads.
(2) Install the oil pressure switch(A).

Tightening torque :
7.8 - 11.8N.m (0.8 - 1.2kgf.m, 5.8 - 8.7lb-ft)





17. Install the knock sensor(A) and the oil filter(B).

Tightening torque :
16.7 - 26.5N.m (1.7 - 2.7kgf.m, 12.3 - 19.5lb-ft)





18. Install the oil level gauge tube.
(1) Install a new O-ring on the oil level gauge tube.
(2) Apply engine oil on the O-ring.
(3) Install the oil level gauge tube with the bolt.

Tightening torque :
9.8 - 11.8N.m (1.0 - 1.2kgf.m, 7.2 - 8.7lb-ft)


19. Install the cylinder head.
20. Install the timing chain.
21. Remove the engine stand.
22. A/T :install the drive plate.

Tightening torque :
71.6 - 75.5N.m (7.3 - 7.7kgf.m, 52.8 - 55.7lb-ft)


23. M/T :install the fly wheel.

Tightening torque :
71.6 - 75.5N.m (7.3 - 7.7kgf.m, 52.8 - 55.7lb-ft)


24. Install the engine.