Curiosii for ever!: Car repair manuals for everyone.

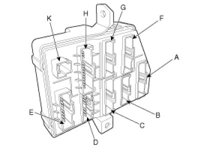
Relay Box (Passenger Compartment)





INSPECTION

PASSENGER COMPARTMENT RELAY





POWER WINDOW
Check for continuity between the terminals.
1. There should be continuity between the No.1 terminal in the I/P-K and the No.9 or 10 terminal in the I/P-G when power and ground are connected to the No.1 terminal in the I/P-K and the No.7 terminal in the I/P-D.
2. There should be no continuity between the No.1 terminal in the I/P-K and the No.9 or 10 terminal in the I/P-G when power and ground are connected to the No.1 terminal in the I/P-K and the No.7 terminal in the I/P-D.

TAIL GATE
Check for continuity between the terminals.
1. There should be continuity between the No.13 terminal in the I/P-H and the No.1 terminal in the I/P-F when power and ground are connected to the No.13 terminal in the I/P-H and the No.17 terminal in the I/P-D.
2. There should be no continuity between the No.13 terminal in the I/P-H and the No.1 terminal in the I/P-F when power and ground are connected to the No.13 terminal in the I/P-H and the No.17 terminal in the I/P-D.

DOOR LOCK
Check for continuity between the terminals.
1. There should be continuity between the No.13 terminal in the I/P-H and the No.7 terminal in the I/P-G or No.12 terminal in the I/P-D when power and ground are connected to the No.13 terminal in the I/P-H and the No.15 terminal in the I/P-D.
2. There should be no continuity between the No.13 terminal in the I/P-H and the No.7 terminal in the I/P-G or No.12 terminal in the I/P-D when power and ground are connected to the No.13 terminal in the I/P-H and the No.15 terminal in the I/P-D.

DOOR UNLOCK
Check for continuity between the terminals.
1. There should be continuity between the No.2 terminal in the I/P-G and the No.2 or 13 terminal in the I/P-E when power and ground are connected to the No.9 terminal in the I/P-D and the No.13 terminal in the I/P-E.
2. There should be no continuity between the No.2 terminal in the I/P-G and the No.2 or 13 terminal in the I/P-E when power and ground are connected to the No.9 terminal in the I/P-D and the No.13 terminal in the I/P-E.

FOG LAMP
Check for continuity between the terminals.
1. There should be continuity between the No.13 terminal in the I/P-H and the No.9 terminal in the I/P-G or the No.1 or No.9 in the I/P-H when power and ground are connected to the No.13 terminal in the I/P-H and the No.16 terminal in the I/P-E.
2. There should be no continuity between the No.13 terminal in the I/P-H and the No.9 terminal in the I/P-G or the No.1 or No.9 in the I/P-H when power and ground are connected to the No.13 terminal in the I/P-H and the No.16 terminal in the I/P-E.

REAR HEATER
Check for continuity between the terminals.
1. There should be continuity between the No.16 terminal in the I/P-H and the No.12 terminal in the I/P-G or the No.16 in the I/P-F and the No.11 in the I/P-E when power and ground are connected to the No.18 terminal in the I/P-C and the No.16 terminal in the I/P-H.
2. There should be no continuity between the No.16 terminal in the I/P-H and the No.12 terminal in the I/P-G or the No.16 in the I/P-F and the No.11 in the I/P-E when power and ground are connected to the No.18 terminal in the I/P-C and the No.16 terminal in the I/P-H.