Curiosii for ever!
: Car repair manuals for everyone.
Home
>>
Kia
>>
2010
>>
Rondo L4-2.4L
>>
Repair and Diagnosis
>>
Diagrams
>>
Electrical Diagrams
>>
Tire Monitoring System
>>
Outline
Outline
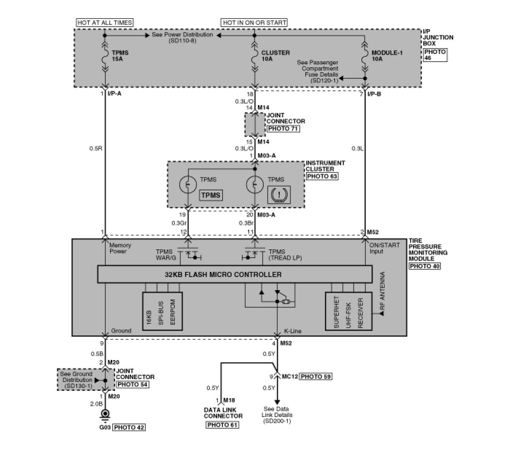
SCHEMATIC DIAGRAM
CIRCUIT DIAGRAM