Curiosii for ever!: Car repair manuals for everyone.

Crankshaft Main Bearing





Main Bearing

Install main bearing cap bolts.
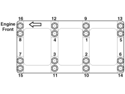
(1) Install and uniformly tighten the bearing cap bolts, in two steps, in the sequence shown.

Tightening torque
M8 12.7 - 18.6 Nm (1.3 - 1.9 kgf.m, 9.4 - 13.7 lb-ft) + 90 - 95°
M10 26.5 - 32.4 Nm (2.7 - 3.3 kgf.m, 19.5 - 23.9 lb-ft) + 90 - 95°

NOTE:
- Use new main bearing cap bolt with engine oil applied.
- If any of the bearing cap bolts are broken or deformed, replace it.
- Washers have their direction(Up/Down)
- Assemble the bearing cap bridge on which its arrow mark faces the engine front.
- Before tightening, make the bearing caps be seated on the block firmly.





NOTE:
Use SST( 09221-4A000 ), install main bearing cap bolts.






Main Bearing Oil Clearance

Specifications 0.004 - 0.022 mm (0.0002 - 0.0009 in)
Limit 0.30 mm (0.118 in)