Curiosii for ever!
: Car repair manuals for everyone.
Home
>>
Kia
>>
2010
>>
Magentis (CANADA) L4-2.4L
>>
Repair and Diagnosis
>>
Diagrams
>>
Electrical Diagrams
>>
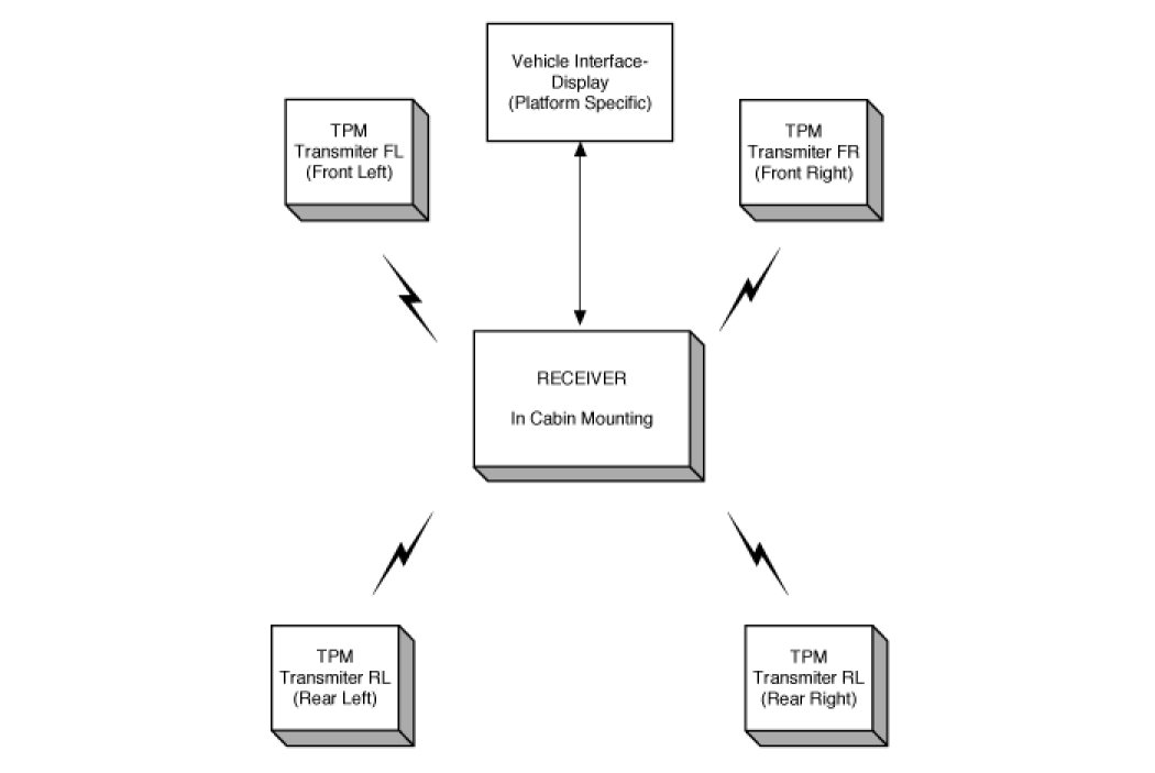
Tire Monitoring System
Tire Monitoring System
SCHEMATIC DIAGRAM
CIRCUIT DIAGRAM