Curiosii for ever!: Car repair manuals for everyone.

Dome Lamp: Service and Repair








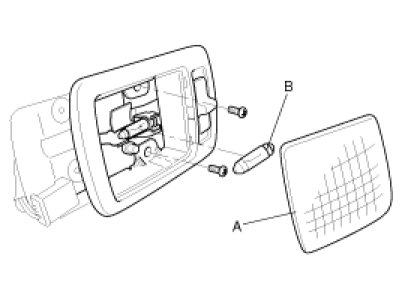
REPLACEMENT

1. Disconnect the negative (-) battery terminal.
2. Detach the lamp lens (A) from the room lamp with a flat-tip screwdriver then replace the bulb (B).
3. Remove the room lamp assembly after removing 2 screws and disconnecting the 3P connector.




4. Installation is the reverse of removal.